授权公布号:CN215620707U
一种用于凹版印刷机的压印装置
有效
申请
2021-09-15
申请公布
1970-01-01
授权
2022-01-25
预估到期
2031-09-15
| 申请号 | CN202122240532.0 |
| 申请日 | 2021-09-15 |
| 授权公布号 | CN215620707U |
| 授权公告日 | 2022-01-25 |
| 分类号 | B41F9/00;B41F9/06;B41F35/00 |
| 分类 | 印刷;排版机;打字机;模印机〔4〕; |
| 申请人名称 | 杭州博思特装饰材料有限公司 |
| 申请人地址 | 浙江省杭州市临安市太湖源镇浪口村 |
专利法律状态
2022-01-25
授权
状态信息
授权
摘要
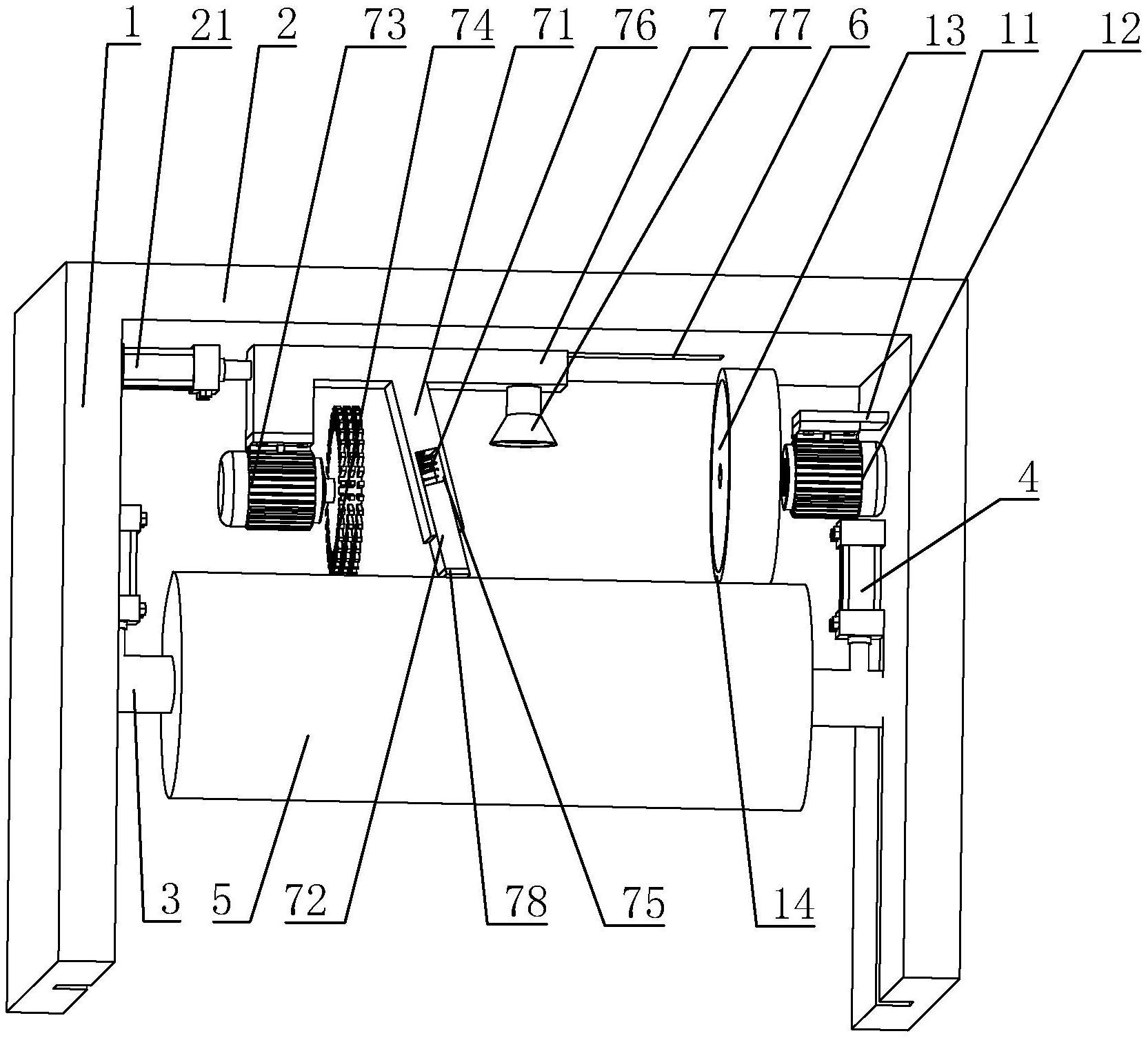
本实用新型涉及一种用于凹版印刷机的压印装置,属于印刷机领域,其技术方案要点,包括:两个对称分布的竖梁以及连接于两竖梁之间的横梁,两竖梁之间滑动连接有安装梁,两竖梁顶部均设有用于驱动安装梁沿竖梁移动的第一气缸,安装梁上转动连接有压辊,其中一竖梁上设有用于驱动压辊转动的动力组件,横梁底部设有滑槽,滑槽内滑动连接有滑板,滑板上设有用于清洗压辊的清洗组件,横梁一端设有用于驱动滑板沿滑槽移动的驱动组件,本实用新型在使用时,通过清洗组件的设置,第一气缸将压辊移动至竖梁顶部就能对压辊进行清洗,不用拆卸,实用便捷,通过驱动组件的设置,在驱动组件的作用下清洗组件可沿横梁往复移动,进一步增大了清洗范围。


