授权公布号:CN211026029U
一种胶水生产系统
有效
申请
2019-10-25
申请公布
1970-01-01
授权
2020-07-17
预估到期
2029-10-25
| 申请号 | CN201921815503.9 |
| 申请日 | 2019-10-25 |
| 授权公布号 | CN211026029U |
| 授权公告日 | 2020-07-17 |
| 分类号 | B01F7/24;B01F15/00;B01F15/02;B01F15/06;B08B9/087 |
| 分类 | 一般的物理或化学的方法或装置; |
| 申请人名称 | 杭州博思特装饰材料有限公司 |
| 申请人地址 | 浙江省杭州市临安市太湖源镇浪口村 |
专利法律状态
2020-07-17
授权
状态信息
授权
摘要
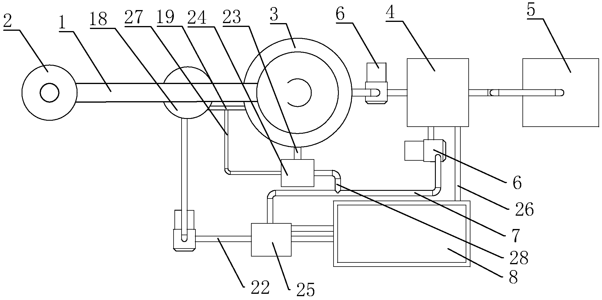
本实用新型公开了一种胶水生产系统,包括依次通过第一管道相连的进料罐、搅拌罐、冷凝器和储存罐,所述第一管道上设有用于使胶水运动的泵机,所述冷凝器的出水口通过第二管道连接有冷却池,所述第二管道上设有用于使冷水从冷凝器流向冷却池的泵机,所述冷却池上端呈开口设置,所述冷凝器的的进水口通过第三管道与冷却池相连。加工好的胶水通过冷凝器进行冷却,再进入到储存罐内,从而是该系统具有较高的冷却效率。同时通过冷凝器与胶水换热后的水可以流入到冷却池内进行散热,冷却池内的水也可以给冷凝器提供冷却水,从而确保了冷凝器具有了较好的冷凝效果。


