授权公布号:CN211036559U
一种纸张上色装置
有效
申请
2019-10-25
申请公布
1970-01-01
授权
2020-07-17
预估到期
2029-10-25
| 申请号 | CN201921817842.0 |
| 申请日 | 2019-10-25 |
| 授权公布号 | CN211036559U |
| 授权公告日 | 2020-07-17 |
| 分类号 | D21H23/56;D21H25/12 |
| 分类 | 造纸;纤维素的生产; |
| 申请人名称 | 杭州博思特装饰材料有限公司 |
| 申请人地址 | 浙江省杭州市临安市太湖源镇浪口村 |
专利法律状态
2020-07-17
授权
状态信息
授权
摘要
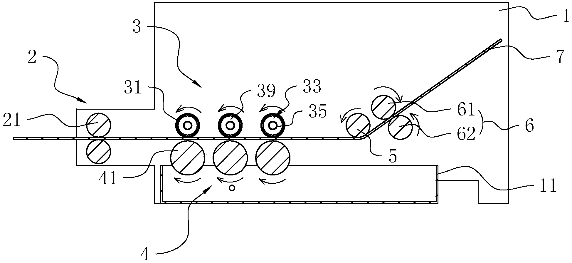
本实用新型涉及一种纸张上色装置,涉及纸张染色技术领域,现有上色装置存在上色不均的问题。本方案包括上色架,上色架上沿纸张传输方向依次设有上色机构、刮料机构,上色机构包括分别用于对纸张两侧进行上色的第一上色组件和第二上色组件,刮料机构包括分别用于对纸张两侧进行刮料的第一刮料辊和第二刮料辊,第一刮料辊和第二刮料辊平行设置,且第一刮料辊中轴线和第二刮料辊中轴线的连线垂直于纸张传动方向;上色架上安装有用于驱动第一刮料辊和第二刮料辊反向转动的第一驱动组件。本方案可对纸张两面均进行染料上色,并用刮料机构对纸张两面进行染料层厚度的控制,从而提高最终成品纸张的质量。


