授权公布号:CN215428730U
一种新型黑糖姜母茶生产用加工设备
有效
申请
2021-01-22
申请公布
1970-01-01
授权
2022-01-07
预估到期
2031-01-22
| 申请号 | CN202120175519.9 |
| 申请日 | 2021-01-22 |
| 授权公布号 | CN215428730U |
| 授权公告日 | 2022-01-07 |
| 分类号 | B01F33/83;B01F35/83;B01F35/71;B01F35/75;A23F3/34 |
| 分类 | 一般的物理或化学的方法或装置; |
| 申请人名称 | 福建一口口生物科技有限公司 |
| 申请人地址 | 福建省福州市平潭综合实验区北厝镇金井二路台湾创业园3号楼6层37号工位 |
专利法律状态
2022-01-07
授权
状态信息
授权
摘要
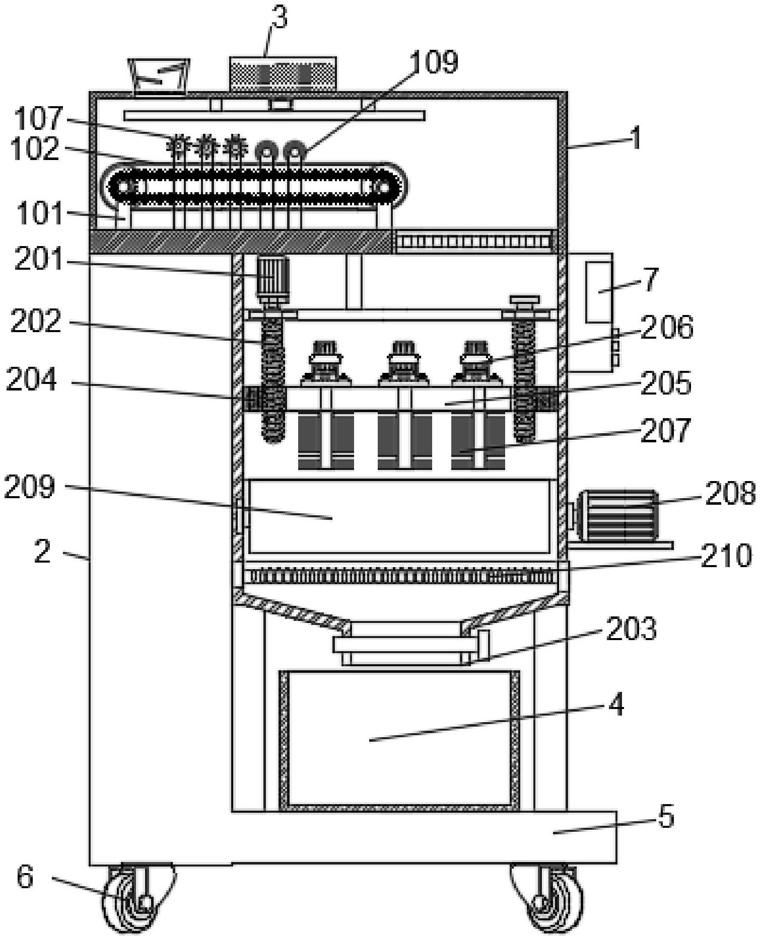
本实用新型涉及茶生产加工技术领域,公开了一种新型黑糖姜母茶生产用加工设备,包括输送箱和搅拌箱,所述输送箱的内部设置有输送机构、抹平机构和压匀机构,所述输送机构包括支撑板一、输送带、转轴、齿轮、输送辊和驱动电机一,所述抹平机构包括支撑板二、驱动电机二和螺旋搅拌轴,所述压匀机构包括支撑板三、驱动电机三和出料辊,所述搅拌箱的内部设置有搅拌机构和升降机构,所述升降机构包括伺服电机一、丝杆和套设在丝杆上的套筒,所述搅拌机构包括伺服电机二和搅拌杆,所述搅拌箱的内部可拆卸连接有过滤网。本实用新型有效提高黑糖姜母茶生产加工的工作效率,有效减少人工操作,降低劳动力度,降低生产成本,自动化程度高。


