授权公布号:CN215561486U
一种床上用品面料的裁切装置
有效
申请
2021-08-17
申请公布
1970-01-01
授权
2022-01-18
预估到期
2031-08-17
| 申请号 | CN202121932493.4 |
| 申请日 | 2021-08-17 |
| 授权公布号 | CN215561486U |
| 授权公告日 | 2022-01-18 |
| 分类号 | D06H7/02;B08B15/04 |
| 分类 | 织物等的处理;洗涤;其他类不包括的柔性材料; |
| 申请人名称 | 重庆弘亚床上用品有限公司 |
| 申请人地址 | 重庆市江津区白沙镇白沙工业园和谐路9号(丰茂白沙标准厂房23幢1至3层1号) |
专利法律状态
2023-09-05
专利权人的姓名或者名称、地址的变更
状态信息
专利权人的姓名或者名称、地址的变更;IPC(主分类):D06H7/02;专利号:ZL2021219324934;变更事项:专利权人;变更前:重庆弘亚床上用品有限公司;变更后:重庆弘亚床上用品有限公司;变更事项:地址;变更前:401329 重庆市九龙坡区含谷镇建新村六社;变更后:402260 重庆市江津区白沙镇白沙工业园和谐路9号(丰茂白沙标准厂房23幢1至3层1号)
2022-01-18
授权
状态信息
授权
摘要
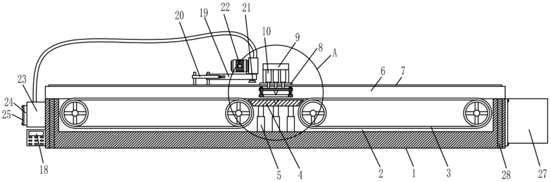
本实用新型涉及一种床上用品面料的裁切装置,包括裁切台,裁切台的上端面开设有安装槽,安装槽内对称转动连接有两组输送带,两组输送带之间设置有垫板,裁切台的上端面前后两端固定有挡板,挡板的上端面设置有电动滑轨,电动滑轨上滑动连接有安装块,安装块上螺栓连接有L型支架,L型支架的一端固定有多个气缸,气缸的底部工作端螺栓连接有安装板,安装板的下端面滑动连接有限位杆,限位杆的底端固定有压环,压环和安装板之间设置有弹簧,安装板下端面可拆卸连接有切割刀。压环、限位杆和弹簧的设计,可避免裁切过程中面料滑动,保证裁切质量;输送带的设计,可降低人工劳动强度,实现自动裁切。


