授权公布号:CN214005854U
一种用于食物垃圾处理器的连接结构及食物垃圾处理器
有效
申请
2020-11-27
申请公布
1970-01-01
授权
2021-08-20
预估到期
2030-11-27
| 申请号 | CN202022798674.4 |
| 申请日 | 2020-11-27 |
| 授权公布号 | CN214005854U |
| 授权公告日 | 2021-08-20 |
| 分类号 | E03C1/266 |
| 分类 | 给水;排水; |
| 申请人名称 | 广东杰美科技有限公司 |
| 申请人地址 | 广东省东莞市东城区温塘茶下村工业区 |
专利法律状态
2021-08-20
授权
状态信息
授权
摘要
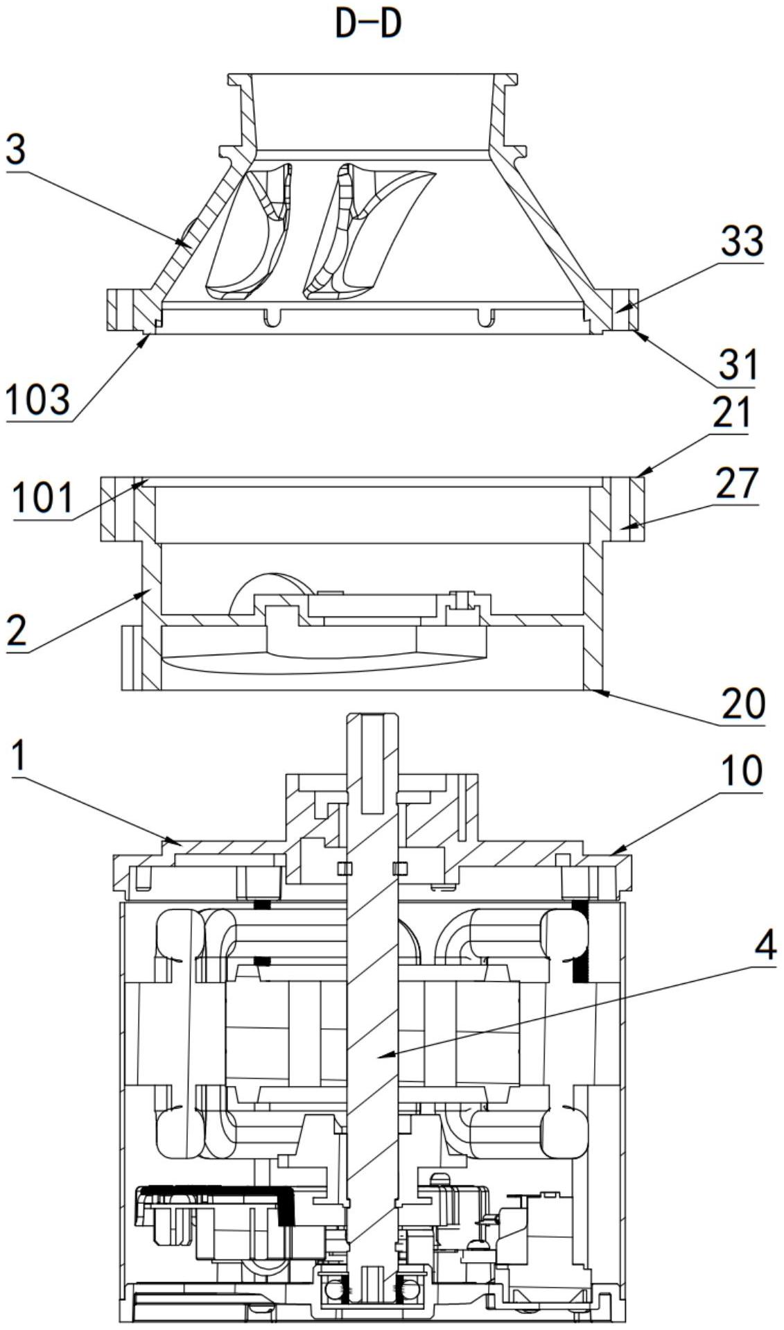
本实用新型公开了一种用于食物垃圾处理器的连接结构,包括排料仓和固定连接于所述排料仓上的研磨仓;所述排料仓靠近所述研磨仓的一端设置有第一连接平面,所述研磨仓靠近所述排料仓的一端设置有用于贴合于所述第一连接平面上的第二连接平面;所述第一连接平面或所述第二连接平面上设置有环绕所述排料仓的内腔的密封槽,所述密封槽中设置有用于密封所述第一连接平面和所述第二连接平面的贴合缝隙的密封圈。本实用新型中,研磨仓与排料仓的密封连接的可靠性更高,能有效避免食物垃圾处理器发臭,从而提高用户的使用体验。


