授权公布号:CN212415072U
可升降的办公会议桌
有效
申请
2020-04-16
申请公布
1970-01-01
授权
2021-01-29
预估到期
2030-04-16
| 申请号 | CN202020567277.3 |
| 申请日 | 2020-04-16 |
| 授权公布号 | CN212415072U |
| 授权公告日 | 2021-01-29 |
| 分类号 | A47B1/04; |
| 分类 | 家具;家庭用的物品或设备;咖啡磨;香料磨;一般吸尘器; |
| 申请人名称 | 四川中旭家具制造有限公司 |
| 申请人地址 | 四川省成都市武侯区成双大道北段68号D座2011、2012、2013号 |
专利法律状态
2021-01-29
授权
状态信息
授权
摘要
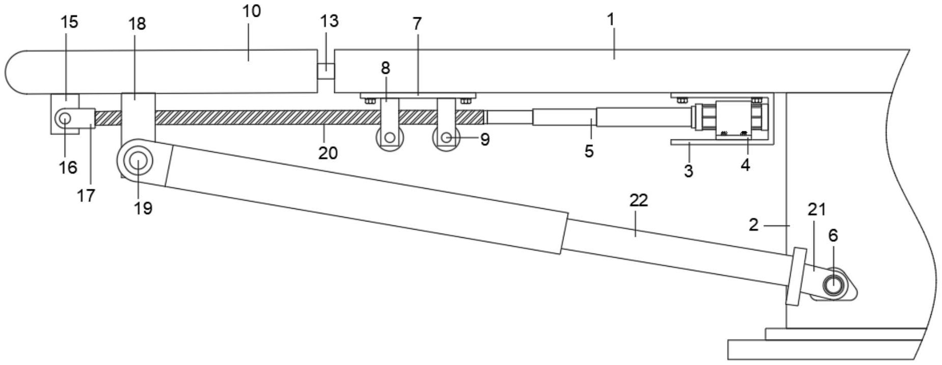
本实用新型公开可升降的办公会议桌,包括支撑座,所述支撑座顶部固定有桌板,所述桌板顶部靠近支撑座的一端设置有固定框架,本实用新型所达到的有益效果是:通过推杆电机的工作,带动双延长杆向T型滑块一侧的方向移动,双延长杆的移动带动T型滑槽内的T型滑块向远离桌板一端的方向移动,双延长杆在移动的时候,且在其移动的过程中,会带动两端的弹簧气杆伸出,弹簧气杆在弧形板撑起时,起到了大部分支撑的作用,双延长杆带动弧形板有竖直状态变成与桌板成平行的状态,起到了限位移动且小部分支撑的作用,此时,停止推杆电机的工作,使弧形板保持当前角度即可,从而可以使议桌可以容纳下更多的人,具有很好的实用性。


