授权公布号:CN212415084U
可升降的桌面屏风
有效
申请
2020-04-16
申请公布
1970-01-01
授权
2021-01-29
预估到期
2030-04-16
| 申请号 | CN202020567284.3 |
| 申请日 | 2020-04-16 |
| 授权公布号 | CN212415084U |
| 授权公告日 | 2021-01-29 |
| 分类号 | A47B13/00;A47G5/00 |
| 分类 | 家具;家庭用的物品或设备;咖啡磨;香料磨;一般吸尘器; |
| 申请人名称 | 四川中旭家具制造有限公司 |
| 申请人地址 | 四川省成都市武侯区成双大道北段68号D座2011、2012、2013号 |
专利法律状态
2021-01-29
授权
状态信息
授权
摘要
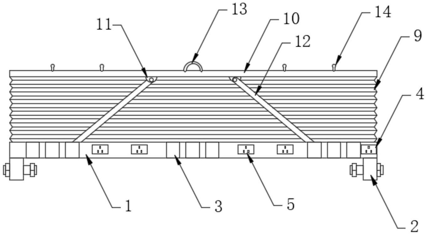
本实用新型公开了可升降的桌面屏风,包括容纳盒,容纳盒的两端下侧均固定连接有外延板,外延板上均开设有穿孔,容纳盒的两侧均固定嵌设有若干笔筒和输电插座,容纳盒的任意一侧上固定嵌设有接电插座,容纳盒的上侧凹槽内固定嵌设有分隔板,分隔板的一侧且位于容纳盒底壁上设有齿槽,分隔板的另一侧且位于容纳盒底壁上粘接有波纹带,波纹带的上侧粘接有横杆,横杆的中部上侧固定连接有拉手,本实用新型可升降的桌面屏风,具有结构设计合理和高度可调的特点,使用时,依靠呈“八”字形结构的斜杆能够有效支撑横杆,从而有效拉伸波纹带,起到了遮挡办公视线的作用,保护了办公人员的部分隐私,也能够有效避免办公用具混淆。


