授权公布号:CN215711031U
一种发电机定子起吊装置
有效
申请
2021-09-11
申请公布
1970-01-01
授权
2022-02-01
预估到期
2031-09-11
| 申请号 | CN202122195128.6 |
| 申请日 | 2021-09-11 |
| 授权公布号 | CN215711031U |
| 授权公告日 | 2022-02-01 |
| 分类号 | B66C1/10 |
| 分类 | 卷扬;提升;牵引; |
| 申请人名称 | 洪雅力达水力发电设备有限责任公司 |
| 申请人地址 | 四川省眉山市洪雅县余坪镇安溪村 |
专利法律状态
2022-02-01
授权
状态信息
授权
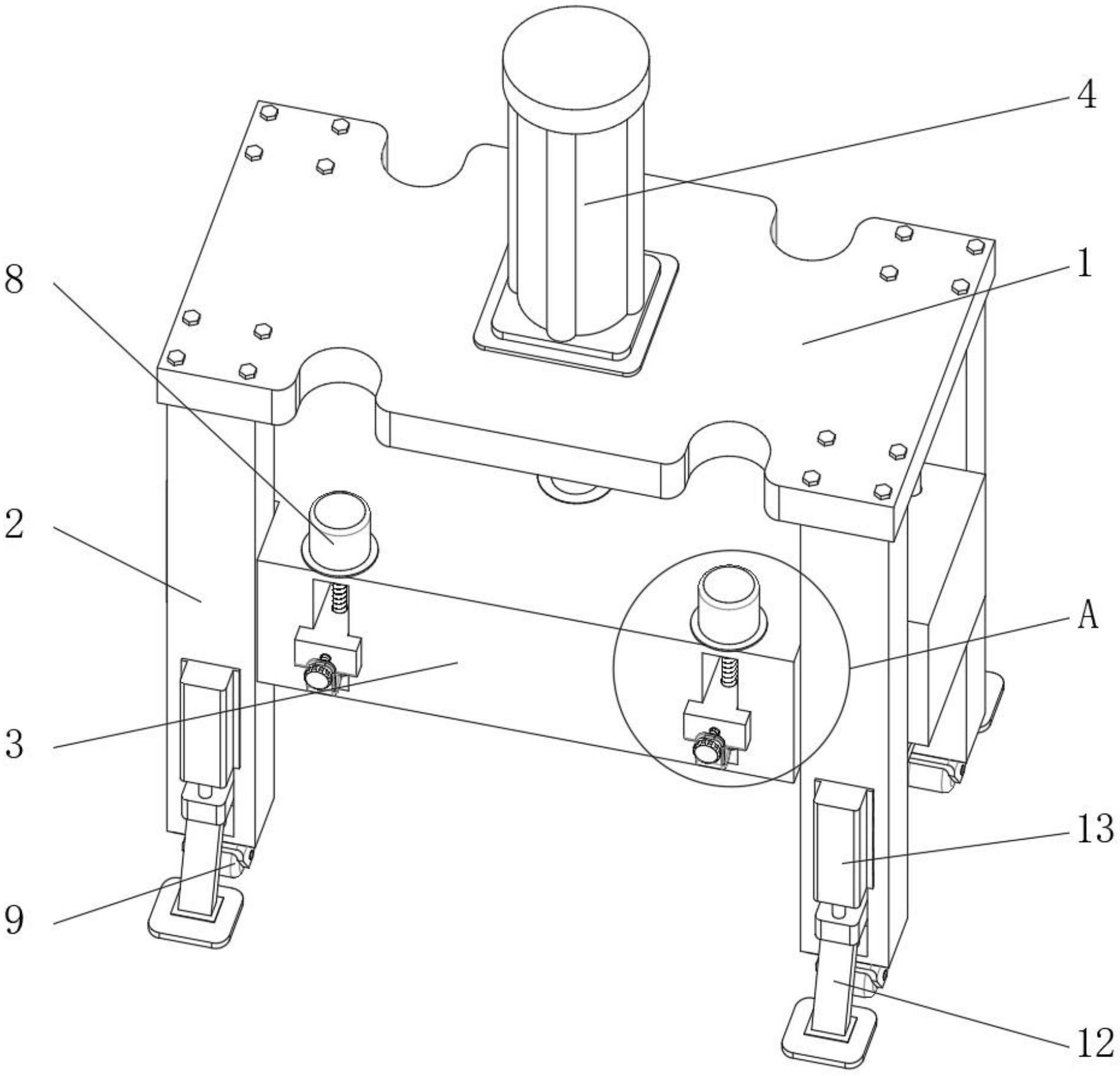
摘要
本实用新型提供一种发电机定子起吊装置,涉及起吊装置技术领域,包括顶板,所述顶板的底部固装有支撑腿,所述支撑腿之间滑动连接有连接框,所述顶板的顶部固装有液压杆,所述液压杆与连接框固定连接,所述连接框的表面开设有连通槽,连通槽的内部转动连接有螺纹杆,连通槽的内部滑动连接有连接块,所述连接块的内部开设有螺纹孔,螺纹孔与螺纹杆相啮合,所述连接块的一侧固装有挂钩,所述连接框的顶部固装有电机。本实用新型,通过设置该连接块,使工作人员在定子不平衡时,能够通过控制电机带动螺纹杆转动,从而使连接块带动挂钩移动,对定子的平衡进行调整,操作简单,方便工作人员的使用。


