授权公布号:CN209943827U
一种发电机组用安全箱
有效
申请
2019-01-18
申请公布
1970-01-01
授权
2020-01-14
预估到期
2029-01-18
| 申请号 | CN201920189161.8 |
| 申请日 | 2019-01-18 |
| 授权公布号 | CN209943827U |
| 授权公告日 | 2020-01-14 |
| 分类号 | F16M1/00;F01P11/12;F01P5/02 |
| 分类 | 工程元件或部件;为产生和保持机器或设备的有效运行的一般措施;一般绝热; |
| 申请人名称 | 洪雅力达水力发电设备有限责任公司 |
| 申请人地址 | 四川省眉山市洪雅县余坪镇安溪村 |
专利法律状态
2020-01-14
授权
状态信息
授权
摘要
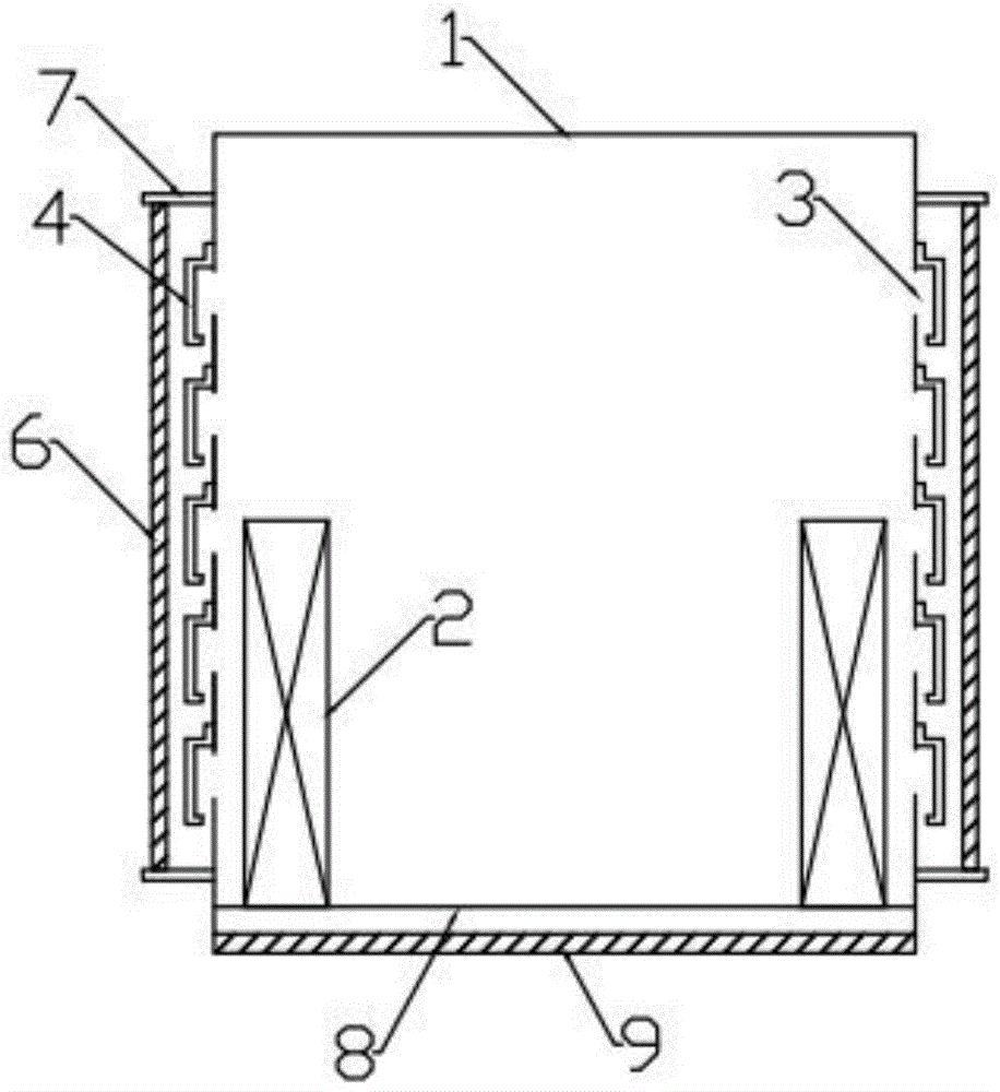
本实用新型公开了一种发电机组用安全箱,包括箱体和风机,所述箱体内部设有至少两个风机,所述箱体的两侧设有若干个水平的条形通风孔,条形通风孔外侧固定安装挡板,所述箱体的两侧位于挡板的外侧均设有可拆卸的过滤网,所述箱体的两侧四角设有支撑架,过滤网安装在支撑架之间。本实用新型与现有技术相比的优点在于:挡板可以防水防尘,结合过滤网进一步提高防尘效果,通过防水、防尘式散热结构,可以有效的对发电机组的保护箱体进行散热,也能够很好的实现防雨水、防尘土的效果。


