授权公布号:CN209824747U
一种猪舍养殖窗口通风保暖机构
有效
申请
2019-03-01
申请公布
1970-01-01
授权
2019-12-24
预估到期
2029-03-01
| 申请号 | CN201920263456.5 |
| 申请日 | 2019-03-01 |
| 授权公布号 | CN209824747U |
| 授权公告日 | 2019-12-24 |
| 分类号 | A01K1/00 |
| 分类 | 农业;林业;畜牧业;狩猎;诱捕;捕鱼; |
| 申请人名称 | 湘村高科农业股份有限公司 |
| 申请人地址 | 湖南省娄底市娄星区新星南路1542号 |
专利法律状态
2023-05-26
专利权的保全及其解除
状态信息
专利权的保全;IPC(主分类):A01K1/00;专利号:ZL2019202634565;申请日:20190301;授权公告日:20191224;登记生效日:20230504;解除日:
2022-06-28
专利权质押合同登记的生效、变更及注销
状态信息
专利权质押合同登记的生效;IPC(主分类):A01K1/00;登记号:Y2022980007445;登记生效日:20220610;出质人:湘村高科农业股份有限公司;质权人:中国光大银行股份有限公司娄底分行;实用新型名称:一种猪舍养殖窗口通风保暖机构;申请日:20190301;授权公告日:20191224
2019-12-24
授权
状态信息
授权
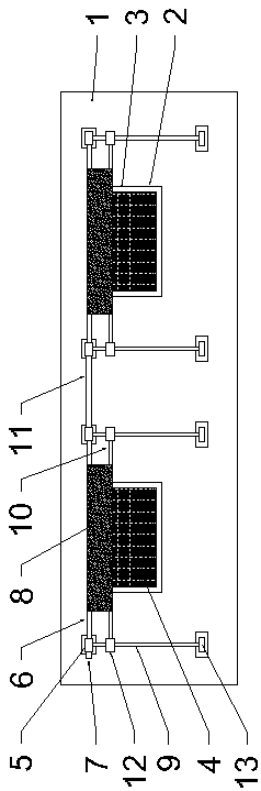
摘要
本实用新型提供一种猪舍养殖窗口通风保暖机构,它包括有猪舍,猪舍墙壁上设有内外贯穿的窗口,窗口内固定有安装框架,安装框架内安装有蜂窝纸板,窗口处的猪舍外侧壁上安装有挡风组件。采用本方案后的结构合理、通风、保暖效果好。


