授权公布号:CN211748248U
带有杯托的座椅扶手及座椅
有效
申请
2020-03-20
申请公布
1970-01-01
授权
2020-10-27
预估到期
2030-03-20
| 申请号 | CN202020361535.2 |
| 申请日 | 2020-03-20 |
| 授权公布号 | CN211748248U |
| 授权公告日 | 2020-10-27 |
| 分类号 | A47C7/54;A47C7/62 |
| 分类 | 家具;家庭用的物品或设备;咖啡磨;香料磨;一般吸尘器; |
| 申请人名称 | 河北帅康座椅有限公司 |
| 申请人地址 | 河北省保定市雄县城东经济开发区帅康座椅 |
专利法律状态
2020-10-27
授权
状态信息
授权
摘要
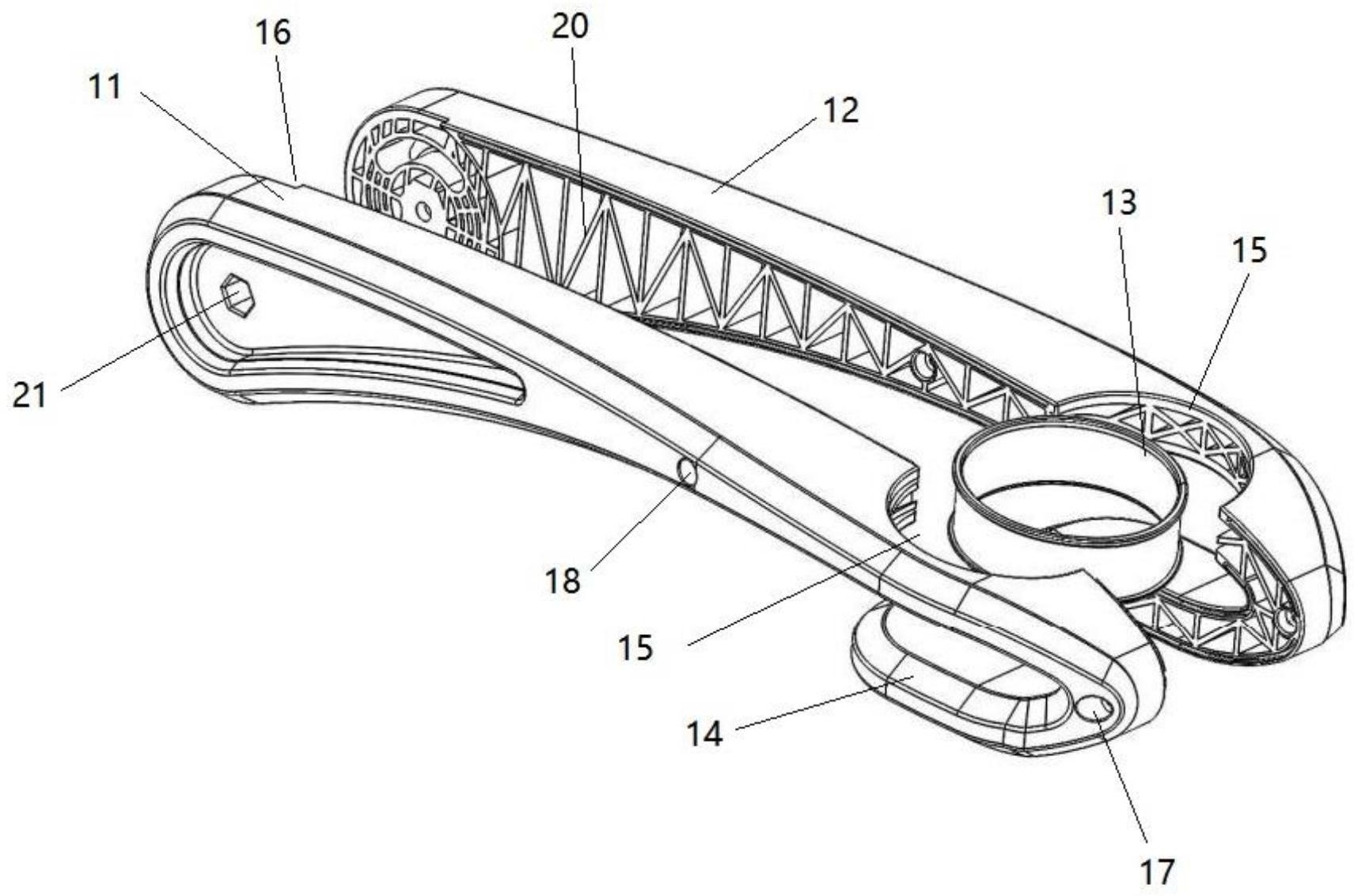
本实用新型涉及一种带有杯托的座椅扶手,包括扶手本体和杯托内衬,扶手本体包括第一扶手本体和第二扶手本体,第一扶手本体的前端向下弯曲且继续向后弯曲水平延伸设有托板,托板与第一扶手本体呈平行设置;第一扶手本体上预留有上下纵向贯穿的半圆孔,第一扶手本体和第二扶手本体设为左右对称的两个部件;杯托内衬设为中空的套筒,杯托内衬放置到第一扶手本体和第二扶手本体预留的半圆孔位置,使用螺栓将第一扶手本体和第二扶手本体连接并紧固,连接紧固的同时,杯托内衬也同时与第一扶手本体和第二扶手本体连为一体。本实用新型座椅扶手组装工艺简单方便易操作,其拼装工艺能够满足更多外观造型部件的设计、以及造型设计完成后大规模量产。


