授权公布号:CN217404573U
一种方便拆装的熔接机电极
有效
申请
2022-06-30
申请公布
1970-01-01
授权
2022-09-09
预估到期
2032-06-30
| 申请号 | CN202221654877.9 |
| 申请日 | 2022-06-30 |
| 授权公布号 | CN217404573U |
| 授权公告日 | 2022-09-09 |
| 分类号 | G02B6/255;F21V33/00;F21V19/00;F21V23/06;F21Y115/10N |
| 分类 | 光学; |
| 申请人名称 | 南京吉隆光纤通信股份有限公司 |
| 申请人地址 | 江苏省南京市南京高新区丽景路20号研发2号楼A座210室 |
专利法律状态
2022-09-09
授权
状态信息
授权
摘要
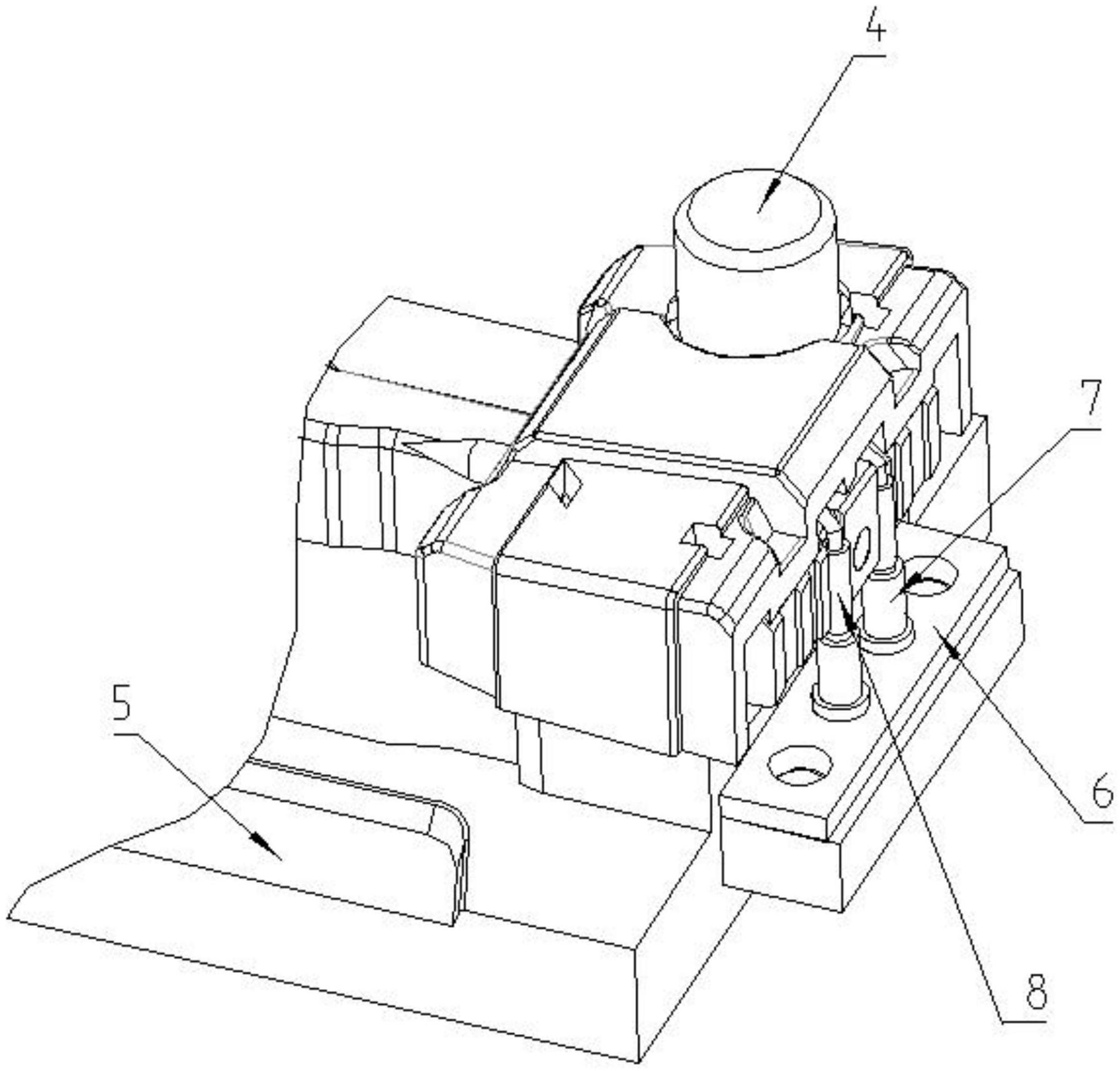
本实用新型涉及一种方便拆装的熔接机电极,属于光纤熔接、光通信技术领域,包括电极座;电极盖,安装在所述电极座一侧并与其相配合;电极棒组件,安装在所述电极座与电极盖之间;照明件,安装在所述电极盖内并与电极座电性连接,用于照明;固定件,一端贯穿所述电极盖和电极棒组件并与电极座固定连接,用于将电极座、电极棒组件和电极盖连接固定。本实用新型将电极、电极盖、LED照明灯、电极螺钉集成为一体的电极组件,实现快速手拧的方式装卸电极;同时LED照明灯不使用软线,通过导电触点的方式实现导通,降低了因反复拆装电极导致的LED灯线折断的故障,更加安全实用。


