授权公布号:CN213664548U
一种可折叠并匀速回复的座包结构
有效
申请
2020-07-23
申请公布
1970-01-01
授权
2021-07-13
预估到期
2030-07-23
| 申请号 | CN202021472060.0 |
| 申请日 | 2020-07-23 |
| 授权公布号 | CN213664548U |
| 授权公告日 | 2021-07-13 |
| 分类号 | A47C27/05;A47C27/15 |
| 分类 | 家具;家庭用的物品或设备;咖啡磨;香料磨;一般吸尘器; |
| 申请人名称 | 浙江华康家具有限公司 |
| 申请人地址 | 浙江省湖州市安吉县递铺镇阳光工业园区二区 |
专利法律状态
2021-07-13
授权
状态信息
授权
摘要
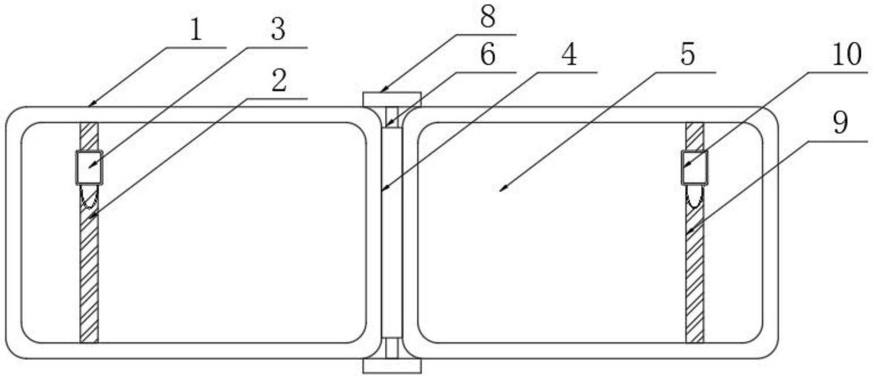
本实用新型公开了一种可折叠并匀速回复的座包结构,包括第一座包,所述第一座包后表面的一侧固定连接有第一拉链,所述第一拉链的表面滑动连接有第一拉锁,所述第一座包的一侧固定连接有牛仔连接带,所述牛仔连接带的一侧固定连接有第二座包,所述第二座包后表面的一侧固定连接有第二拉链。通过设计的第一拉链、第一拉锁、收卷杆、通孔、限位块、第二拉链、第二拉锁,可以有效的对长时间使用后的座包进行拆卸清洗,且在其清洗完成可以有效的对其进行折叠和收卷,增加了设备的实用性能,有效的解决了设备在使用时因为座包表面较脏,而拆卸较为麻烦导致其清洗较为麻烦,折叠和收卷较为困难的问题。


