授权公布号:CN206518402U
一种新型头枕
失效
申请
2016-10-19
申请公布
1970-01-01
授权
2017-09-26
预估到期
2026-10-19
| 申请号 | CN201621135953.X |
| 申请日 | 2016-10-19 |
| 授权公布号 | CN206518402U |
| 授权公告日 | 2017-09-26 |
| 分类号 | A47G9/10;A47B13/00 |
| 分类 | 家具;家庭用的物品或设备;咖啡磨;香料磨;一般吸尘器; |
| 申请人名称 | 广东鸿基家具实业有限公司 |
| 申请人地址 | 广东省佛山市顺德区龙江镇坦西工业大道16号 |
专利法律状态
2023-10-27
专利权的终止
状态信息
未缴年费专利权终止;IPC(主分类):A47G9/10;专利号:ZL201621135953X;申请日:20161019;授权公告日:20170926;终止日期:
2018-11-02
专利权人的姓名或者名称、地址的变更
状态信息
专利权人的姓名或者名称、地址的变更;IPC(主分类):A47G9/10;变更事项:专利权人;变更前:广东龙江鸿基座椅有限公司;变更后:广东鸿基家具实业有限公司;变更事项:地址;变更前:528319 广东省佛山市顺德区龙江镇坦西工业大道16号;变更后:528319 广东省佛山市顺德区龙江镇坦西工业大道16号
2017-09-26
授权
状态信息
授权
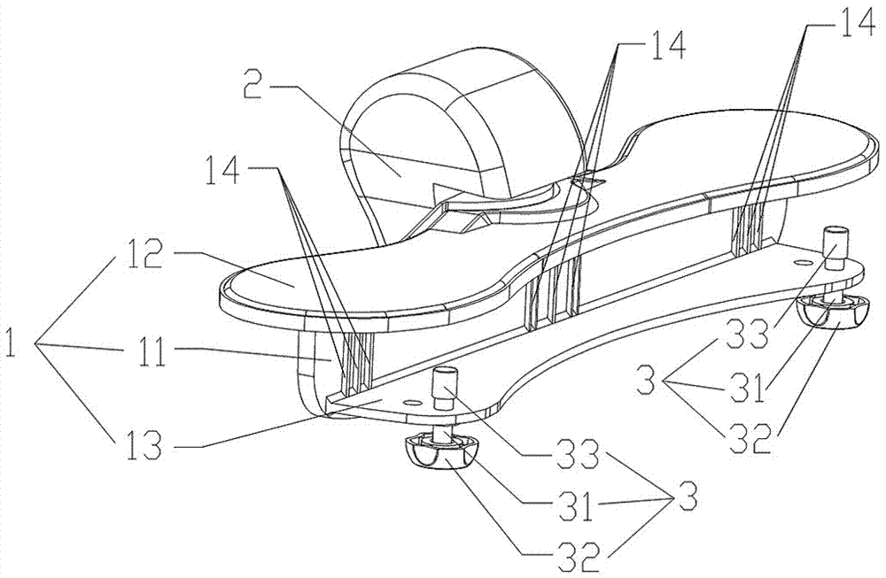
摘要
本实用新型为一种新型头枕,包括基座,其特征在于,所述基座一侧上可调式安装有头枕,基座另一侧连接有锁紧组件,锁紧组件与基座之间构成可调式夹紧腔。使用时,先将夹紧腔夹设在办公桌的边缘,然后通过利用锁紧组件的可调特性,将基座固定在办公桌的边缘,办公桌的边缘下端与锁紧组件的顶端相抵,办公桌的边缘顶端与基座的底端相抵,从而固定基座的位置,防止松脱;好处在于:利用可调节式的锁紧组件,从而适用于厚度不用的办公桌,提高适用性,携带使用方便,占用空间小,使用稳定性好,使用寿命长,市场竞争力高。头枕的设置,方便使用者的头部依靠,而手部可以放置在基座上,相比现有的普通头枕,占用面积小,使用、存放更加方便。


