授权公布号:CN210669761U
变频电机的飞轮与散热风扇的防松固定结构
有效
申请
2019-12-10
申请公布
1970-01-01
授权
2020-06-02
预估到期
2029-12-10
| 申请号 | CN201922201435.3 |
| 申请日 | 2019-12-10 |
| 授权公布号 | CN210669761U |
| 授权公告日 | 2020-06-02 |
| 分类号 | H02K7/02;H02K9/06 |
| 分类 | 发电、变电或配电; |
| 申请人名称 | 重庆吉力芸峰实业(集团)有限公司 |
| 申请人地址 | 重庆市巴南区花溪街道陈家湾三村40号21幢 |
专利法律状态
2023-11-14
专利申请权、专利权的转移
状态信息
专利权的转移;IPC(主分类):H02K7/02;专利号:ZL2019222014353;登记生效日:20231030;变更事项:专利权人;变更前权利人:重庆吉力芸峰实业(集团)有限公司;变更后权利人:重庆吉力芸峰电机有限公司;变更事项:地址;变更前权利人:400054 重庆市巴南区李家沱陈家湾三村40号;变更后权利人:400054 重庆市巴南区花溪街道陈家湾三村40号21幢
2020-06-02
授权
状态信息
授权
摘要
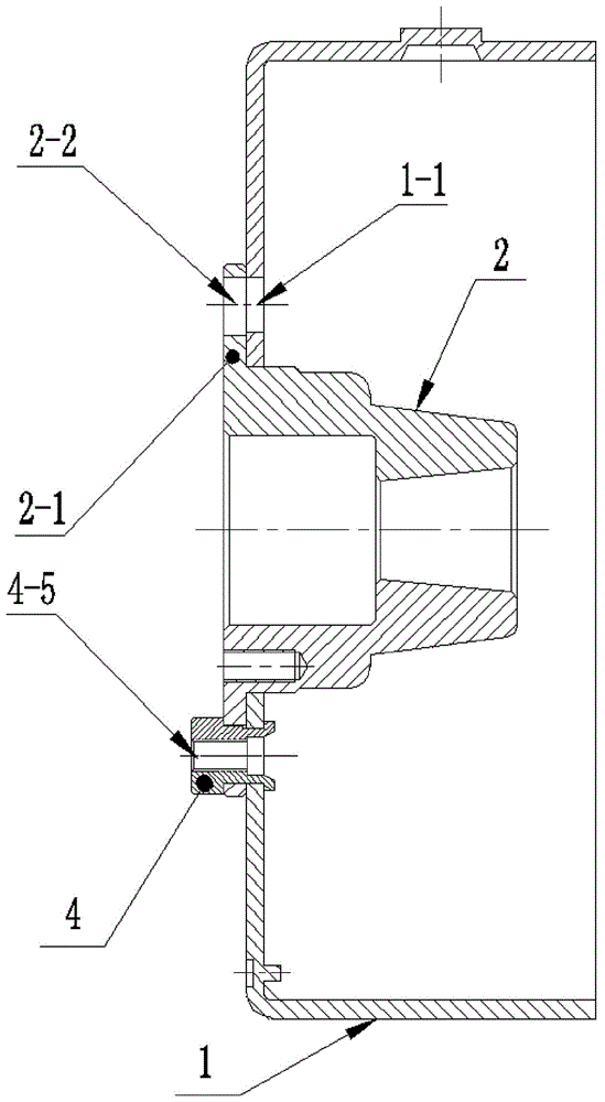
本实用新型涉及变频电机领域,具体涉及一种变频电机的飞轮与散热风扇的防松固定结构,包括飞轮、轴套,轴套安装在飞轮的中心,轴套的法兰部均布设置多个安装孔,飞轮的轴向端面对应安装孔的位置设有铆钉孔,用于安装散热风扇的内螺纹销穿过安装孔和铆钉孔,通过铆接固定在法兰部上,内螺纹销为阶梯圆柱,该阶梯圆柱的一端为大径段,另一端为小径段,大径段与小径段之间为中径段,中经段的圆周设有用于周向限位的切平面形成周向限位部,轴套法兰部的安装孔设置为与内螺纹销中经段横截面形状相同的扁孔,使内螺纹销与安装孔形成周向限位固定,杜绝了变频电机在长时间运转过程中因为散热风扇松动而产生的异响,甚至导致散热风扇脱落的问题。


