授权公布号:CN218988799U
一种用于涂料生产的灌装机构
有效
申请
2022-12-08
申请公布
1970-01-01
授权
2023-05-09
预估到期
2032-12-08
| 申请号 | CN202223283452.4 |
| 申请日 | 2022-12-08 |
| 授权公布号 | CN218988799U |
| 授权公告日 | 2023-05-09 |
| 分类号 | B67C3/30;B67C3/00 |
| 分类 | 开启或封闭瓶子、罐或类似的容器;液体的贮运; |
| 申请人名称 | 悉奥控股有限公司 |
| 申请人地址 | 浙江省杭州市临安区高虹镇崇贤路598号 |
专利法律状态
2023-05-09
授权
状态信息
授权
摘要
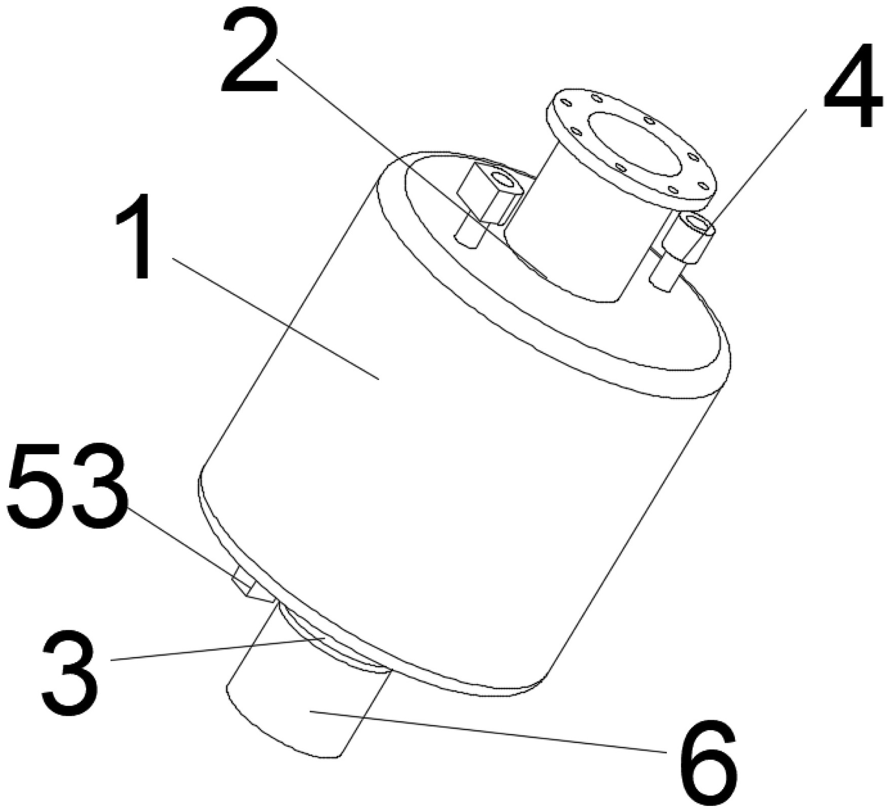
本实用新型公开了一种用于涂料生产的灌装机构,包括罐体,所述罐体两端分别设有进料口和出料口,其特征在于:所述罐体的进料口一端还设有压力平衡机构,所述压力平衡机构包括压力感应器、泄气阀、进气阀和通气管,所述罐体的出料口内侧压力感应器,所述罐体的进料口一侧设有一对通气管,所述通气管端部上分别设有泄气阀和进气阀,所述进气阀与外部气源连接,所述泄气阀与大气连接,所述罐体的出料口一侧还设有罐口开闭机构,所述出料口固定套设有导料管。本实用新型通过压力平衡机构的设计,当罐体底部压力感应器的数值下降时打开进气阀,利用气源增加罐内压力,始终稳定罐体底层涂料所受上层压力的大小,保证等时间流下的涂料更加均匀。


