授权公布号:CN214611434U
一种涂料生产用封罐装置
有效
申请
2021-04-06
申请公布
1970-01-01
授权
2021-11-05
预估到期
2031-04-06
| 申请号 | CN202120689761.8 |
| 申请日 | 2021-04-06 |
| 授权公布号 | CN214611434U |
| 授权公告日 | 2021-11-05 |
| 分类号 | B67B3/12;B67B3/06 |
| 分类 | 开启或封闭瓶子、罐或类似的容器;液体的贮运; |
| 申请人名称 | 悉奥控股有限公司 |
| 申请人地址 | 浙江省杭州市临安区高虹镇崇贤路598号 |
专利法律状态
2021-11-05
授权
状态信息
授权
摘要
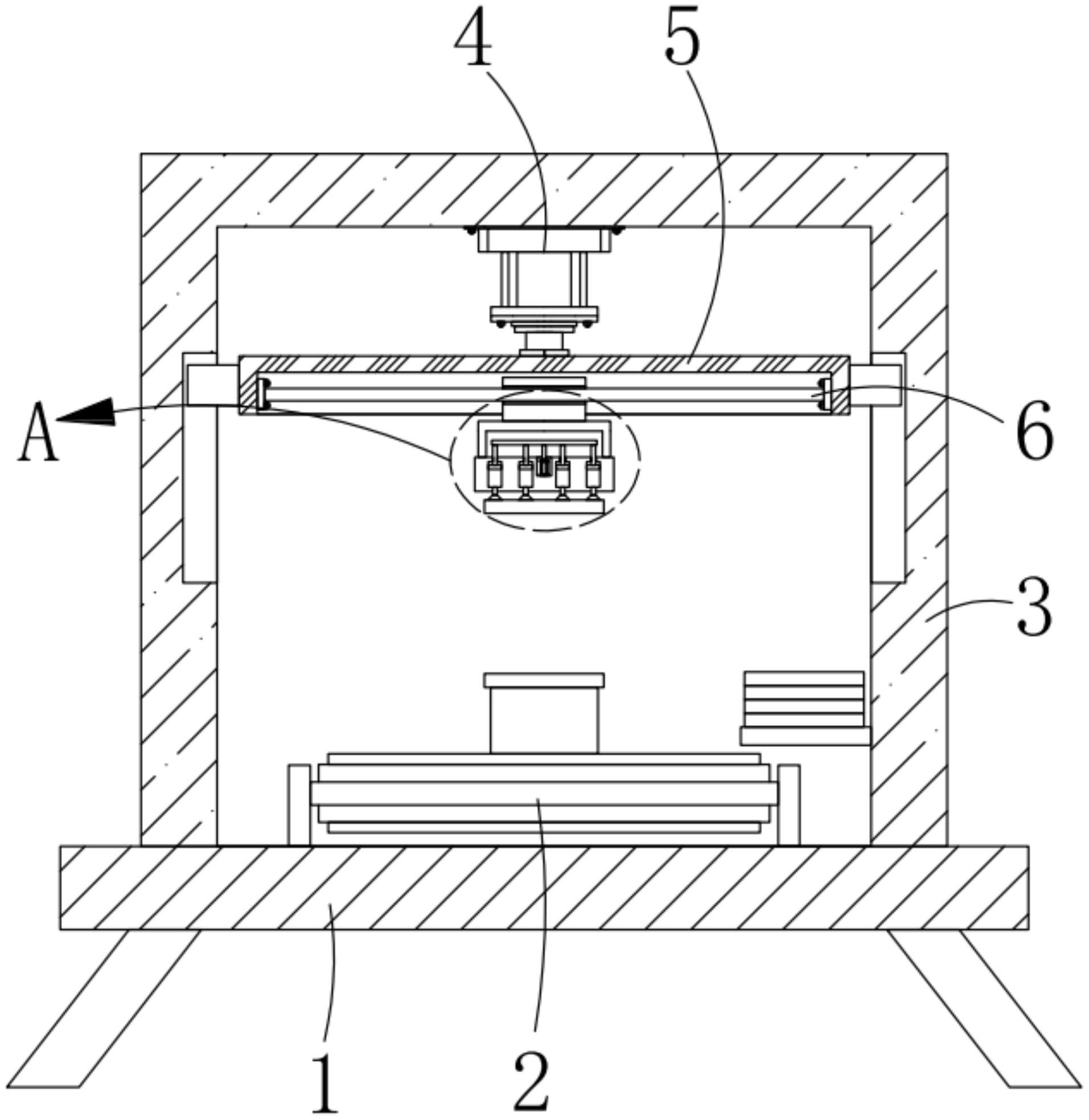
本实用新型提供一种涂料生产用封罐装置。涂料生产用封罐装置,包括:底板;输送机构,所述输送机构固定安装在所述底板的顶部;第一支架,所述第一支架固定安装在所述底板的顶部;第一液压缸,所述第一液压缸固定安装在所述第一支架的顶部内壁上;框板,所述框板滑动安装在所述第一支架的两侧内壁上;电动导轨,所述电动导轨固定安装在所述框板的两侧内壁上;U型架,所述U型架固定安装在所述电动导轨的移动座上;长形块,所述长形块固定安装在所述U型架的底部;多个腔体,多个所述腔体均开设在所述长形块上。本实用新型提供的涂料生产用封罐装置具有操作简单,省时省力,提高封罐效率和效果的优点。


