授权公布号:CN108057779B
一种滤波器盖板翻边模具
有效
申请
2017-12-14
申请公布
2018-05-22
授权
2023-08-04
预估到期
2037-12-14
| 申请号 | CN201711342286.1 |
| 申请日 | 2017-12-14 |
| 申请公布号 | CN108057779A |
| 申请公布日 | 2018-05-22 |
| 授权公布号 | CN108057779B |
| 授权公告日 | 2023-08-04 |
| 分类号 | B21D37/10;B21D43/00;B21D28/26;B21D19/08 |
| 分类 | 基本上无切削的金属机械加工;金属冲压; |
| 申请人名称 | 苏州市凯丽耐实业有限公司 |
| 申请人地址 | 江苏省苏州市相城区渭塘镇渭南村 |
专利法律状态
2023-08-04
授权
状态信息
授权
2018-06-15
实质审查的生效
状态信息
实质审查的生效;IPC(主分类):B21D37/10;申请日:20171214
2018-05-22
公布
状态信息
公布
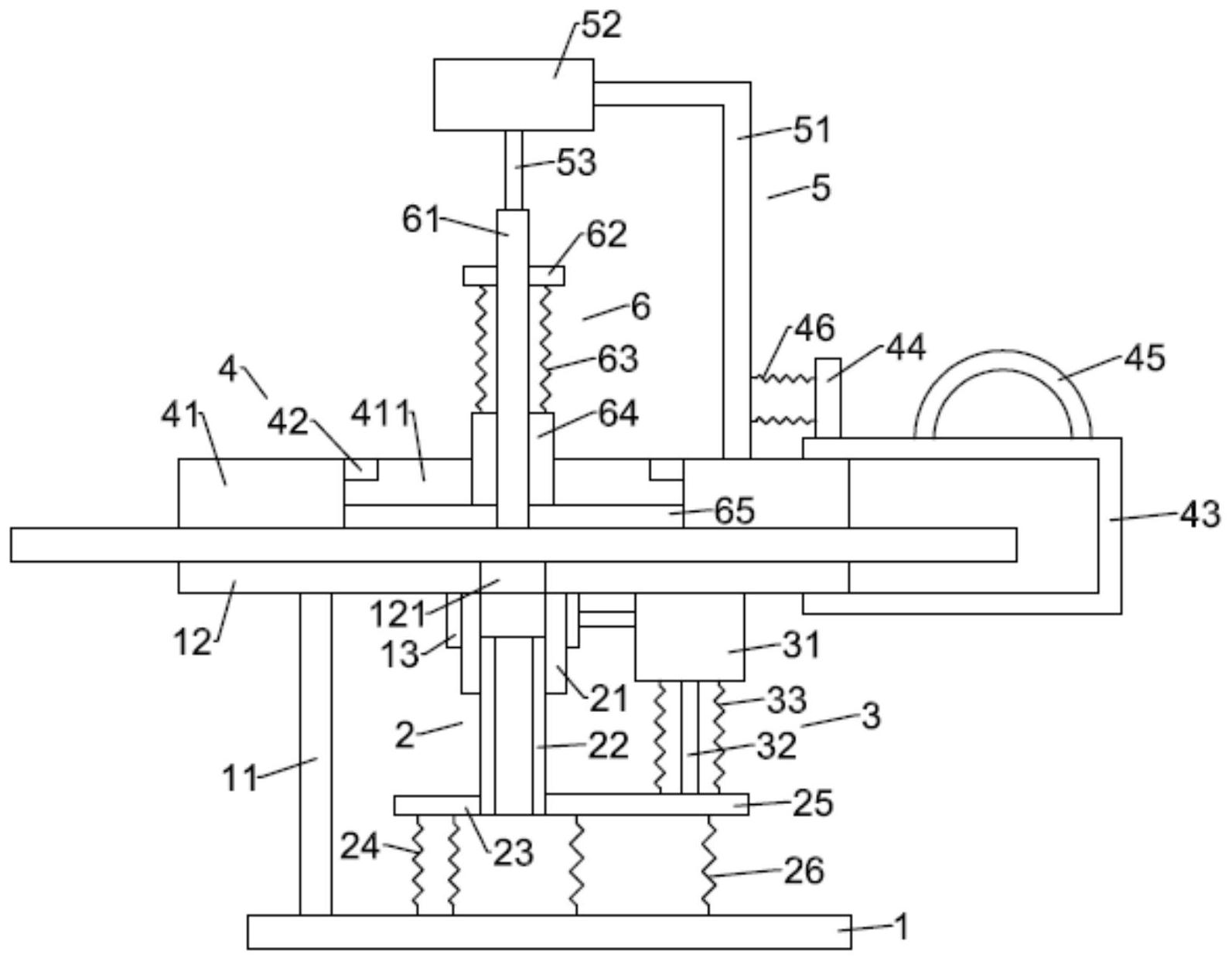
摘要
一种滤波器盖板翻边模具,包括底板、位于所述底板上方的调节装置、设置于所述调节装置右侧的电缸装置、位于所述底板上方的上模具装置、设置于所述上模具装置上的驱动装置、设置于所述驱动装置上的挤压成型装置。本发明能够对铝板进行快速有效的冲孔翻边作业,冲孔翻边一同完成,作业效率高,操作简单,并且可以方便的调节翻边的高度,以便满足不同的需求,使用范围广。


