授权公布号:CN217343206U
一种防磨损高速模具
有效
申请
2022-06-17
申请公布
1970-01-01
授权
2022-09-02
预估到期
2032-06-17
| 申请号 | CN202221511030.5 |
| 申请日 | 2022-06-17 |
| 授权公布号 | CN217343206U |
| 授权公告日 | 2022-09-02 |
| 分类号 | B21D37/10;B21D37/12 |
| 分类 | 基本上无切削的金属机械加工;金属冲压; |
| 申请人名称 | 苏州市凯丽耐实业有限公司 |
| 申请人地址 | 江苏省苏州市相城区渭塘镇爱格豪路26号1号楼 |
专利法律状态
2022-09-02
授权
状态信息
授权
摘要
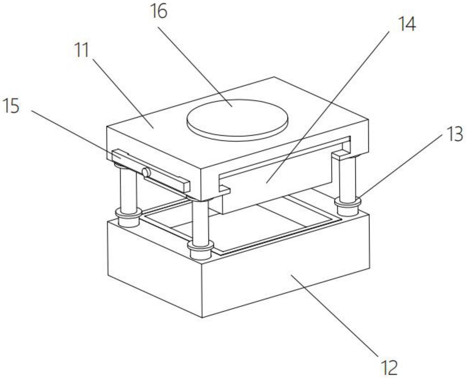
本实用新型涉及模具技术领域,具体公开了一种防磨损高速模具,包括上模具主体和下模具主体,上模具主体底部设有凸模,下模具主体顶部设有与凸模配合的凹模;上模具主体上设有安装槽,上模具主体上连接有定位件,上模具主体底部通过导向缓冲件连接下模具主体;导向缓冲件包括固定筒和滑动设置在固定筒内的滑杆,滑杆延伸至固定筒内连接弹簧,下模具主体上设有用固定槽,滑杆顶部连接有固定板,固定板连接上模具主体底部;本实用新型中上模具主体上的凸模长期使用后磨损,可局部更换凸模,减少模具的整体更换,且拆装方便,导向缓冲件能对上模具主体升降时进行导向,下降时进行缓冲,且导向缓冲件也方便单独更换使用。


