授权公布号:CN220649737U
一种食品生产用称重装置
有效
申请
2023-07-14
申请公布
1970-01-01
授权
2024-03-22
预估到期
2033-07-14
| 申请号 | CN202321851820.2 |
| 申请日 | 2023-07-14 |
| 授权公布号 | CN220649737U |
| 授权公告日 | 2024-03-22 |
| 分类号 | G01G17/06 |
| 分类 | 测量;测试; |
| 申请人名称 | 四川高金实业集团股份有限公司 |
| 申请人地址 | 四川省遂宁市工业园区滨江南路666号22栋 |
专利法律状态
2024-03-22
授权
状态信息
授权
摘要
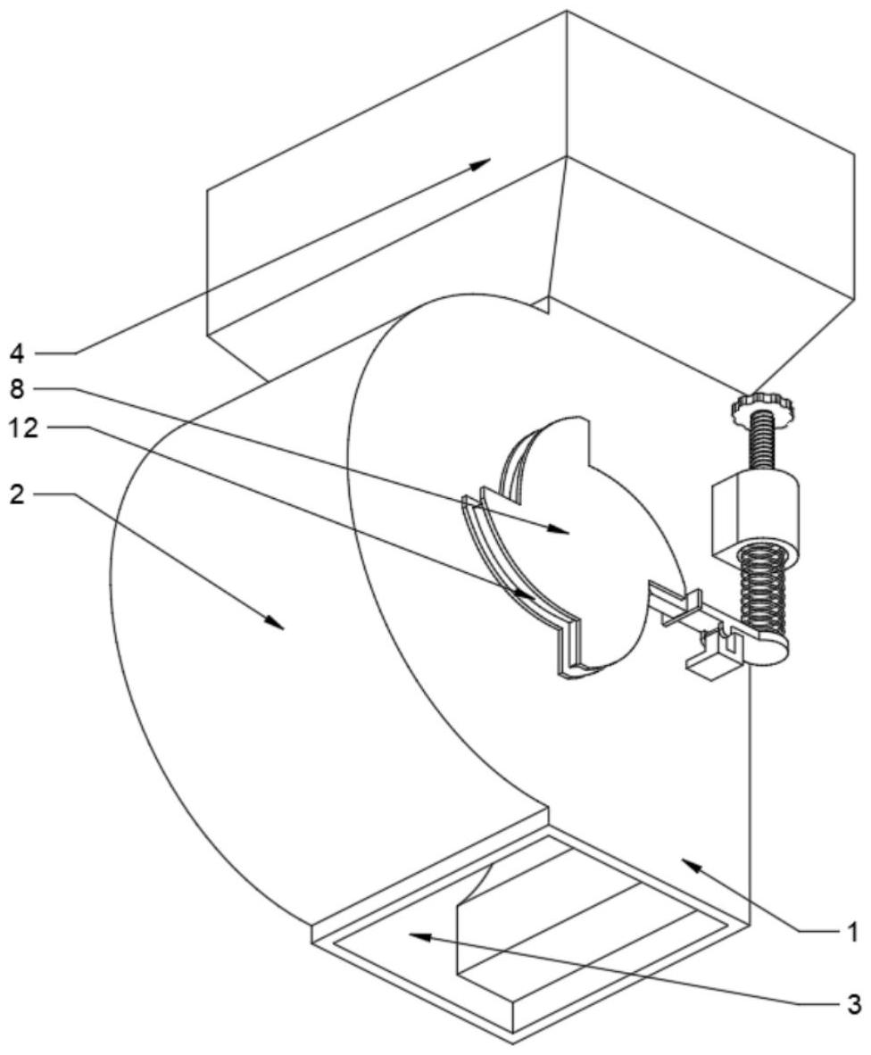
本实用新型涉及食品生产相关技术领域,公开了一种食品生产用称重装置,包括落料管,落料管底部设置有出料口,落料管顶部固定连接有加料斗,所述落料管一侧设置有转动箱,转动箱内转动连接有转轴,转轴上固定连接有四组均匀分布的挡板,挡板由转轴向挡板的边缘呈斜坡设置且角度逐渐降低,所述转轴一端穿过转动箱固定连接有棘轮,棘轮上棘齿数量与挡板数量相同,本实用新型通过弹簧与棘轮的相互配合实现了对食品的自动称量并实现了自动下料,并且装置可根据食品的种类的不同以及包装规格的不同对装置的称量质量进行调节,无需工人反复称量,降低了人工成本,降低了人工成本,加快的生产效率,提高了称量精度,提升了装置的实用性。


