授权公布号:CN220541587U
一种食品原料生产加工用晾晒装置
有效
申请
2023-08-02
申请公布
1970-01-01
授权
2024-02-27
预估到期
2033-08-02
| 申请号 | CN202322066935.7 |
| 申请日 | 2023-08-02 |
| 授权公布号 | CN220541587U |
| 授权公告日 | 2024-02-27 |
| 分类号 | F26B9/10;F26B25/18 |
| 分类 | 干燥; |
| 申请人名称 | 四川高金实业集团股份有限公司 |
| 申请人地址 | 四川省遂宁市工业园区滨江南路666号22栋 |
专利法律状态
2024-02-27
授权
状态信息
授权
摘要
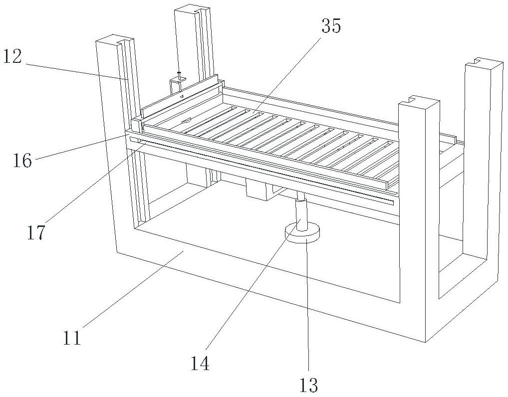
本实用新型公开了一种食品原料生产加工用晾晒装置,涉及食品加工技术领域,包括底座,底座内侧壁上对称开设有滑槽,底座内壁下端部固定安装有油缸,油缸的输出端上设置有电动伸缩杆;其中,两组滑槽内部均滑动安装有滑块,两组滑块之间固定安装有放置台,放置台两侧侧壁上均开设有L形槽,放置台下端部固定安装有U形杆;两个L形槽内部滑动安装有平整机构;平整机构包括L形杆,L形杆滑动内设在两个L形槽中,L形杆上端部开设有条形槽,条形槽内部滑动安装有平整板,L形杆上端部固定安装有固定条,固定条内部螺纹安装有螺杆,螺杆下端部固定安装有限位盘,使得该设备在使用时适用于任意规格的食品原料,适用范围更广。


