授权公布号:CN103362293B
聚胺酯泡沫压力罐
有效
申请
2013-07-23
申请公布
2013-10-23
授权
2015-11-25
预估到期
2033-07-23
| 申请号 | CN201310310083.X |
| 申请日 | 2013-07-23 |
| 申请公布号 | CN103362293A |
| 申请公布日 | 2013-10-23 |
| 授权公布号 | CN103362293B |
| 授权公告日 | 2015-11-25 |
| 分类号 | E04F21/165 |
| 分类 | 建筑物; |
| 申请人名称 | 上海宇晟密封材料有限公司 |
| 申请人地址 | 山东省临沂市临沂高新区马厂湖镇启阳路西段南侧 |
专利法律状态
2020-07-31
专利申请权、专利权的转移
状态信息
专利权的转移;IPC(主分类):E04F21/165;登记生效日:20200713;变更事项:专利权人;变更前:上海威固化工制品有限公司;变更后:山东桑莱斯新材料有限公司;变更事项:地址;变更前:201201 上海市浦东新区合庆工业区东胜路488号;变更后:276015 山东省临沂市临沂高新区马厂湖镇启阳路西段南侧
2016-04-20
专利申请权、专利权的转移
状态信息
专利权的转移;IPC(主分类):E04F21/165;登记生效日:20160401;变更事项:专利权人;变更前:上海宇晟密封材料有限公司;变更后:上海威固化工制品有限公司;变更事项:地址;变更前:200331 上海市宝山区腾飞路266号;变更后:201201 上海市浦东新区合庆工业区东胜路488号
2015-11-25
授权
状态信息
授权
2013-11-20
实质审查的生效
状态信息
实质审查的生效;IPC(主分类):E04F21/165;申请日:20130723
2013-10-23
公布
状态信息
公布
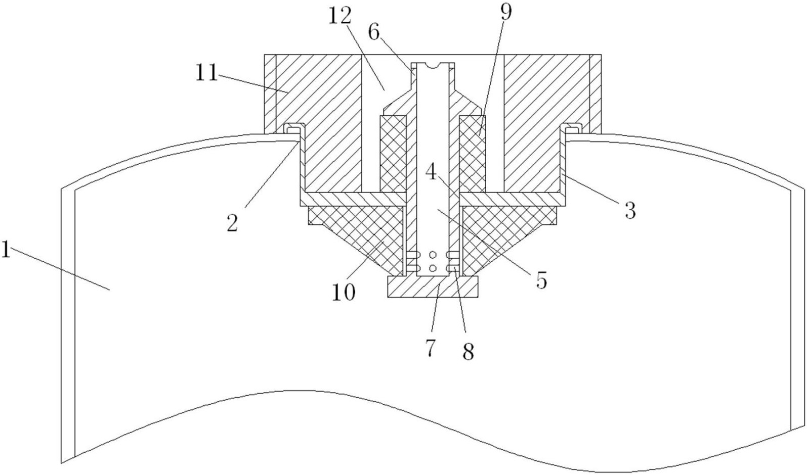
摘要
本发明属于建筑装璜工具技术领域,提出一种聚胺酯泡沫压力罐,包括罐体,所述罐体顶端开有安装孔,在所述安装孔上密封设置喷头座,所述喷头座为盆状结构,在所述喷头座上开有喷头孔,在所述喷头孔内设置哑铃形管状喷头,所述喷头的上端为喷嘴,所述喷嘴为锥形结构,在所述喷嘴处设置至少一个通道,所述通道与所述喷头的内孔相通。本发明的通过喷嘴处的通道,使喷嘴与喷枪的弹珠之间空隙宽度变小时,不影响单位时间内聚胺酯泡沫的喷出量。


