授权公布号:CN217444674U
一种双排插座导电片结构
有效
申请
2022-06-10
申请公布
1970-01-01
授权
2022-09-16
预估到期
2032-06-10
| 申请号 | CN202221458190.8 |
| 申请日 | 2022-06-10 |
| 授权公布号 | CN217444674U |
| 授权公告日 | 2022-09-16 |
| 分类号 | H01R13/02;H01R13/11 |
| 分类 | 基本电气元件; |
| 申请人名称 | 宁波拳王电器有限公司 |
| 申请人地址 | 浙江省宁波市慈溪市掌起镇古窑浦村古窑公路242号 |
专利法律状态
2022-09-16
授权
状态信息
授权
摘要
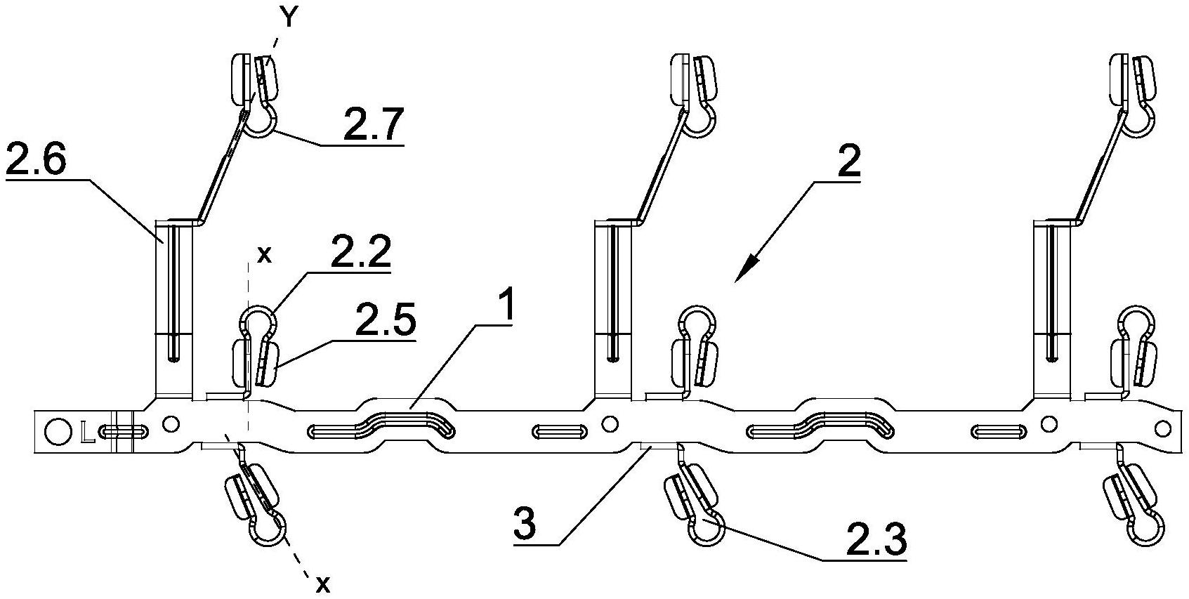
本实用新型公开了一种双排插座导电片结构,包括金属连接件,金属连接件设置有至少一组插接套组件,接插接套组件包括与金属连接件相连接的分支连接件和连接部,所述连接部两端均设置有主金属插套,主金属插套开设有夹持缝,主金属插套沿垂直夹持缝的剖面为弧状,且该弧状的剖面位于连接部的延长线两侧,夹持缝均朝向连接部,分支连接件远离金属连接件的一端设置有与主金属插套相同的副金属插套;该主金属插套自身具有较强的抗形变能力,能够更加可靠的夹紧插脚,该主金属插套位于连接部或其延长线的两侧,使得主金属插套具有更强的夹持力有效节省加工材料降低成本。


