授权公布号:CN216025948U
一种小型手动薄膜涂胶机
有效
申请
2021-09-10
申请公布
1970-01-01
授权
2022-03-15
预估到期
2031-09-10
| 申请号 | CN202122186539.9 |
| 申请日 | 2021-09-10 |
| 授权公布号 | CN216025948U |
| 授权公告日 | 2022-03-15 |
| 分类号 | B05C11/02;B05C5/00 |
| 分类 | 一般喷射或雾化;对表面涂覆液体或其他流体的一般方法〔2〕; |
| 申请人名称 | 上海永冠众诚新材料科技(集团)股份有限公司 |
| 申请人地址 | 上海市青浦区朱家角工业园区康工路15号 |
专利法律状态
2022-03-15
授权
状态信息
授权
摘要
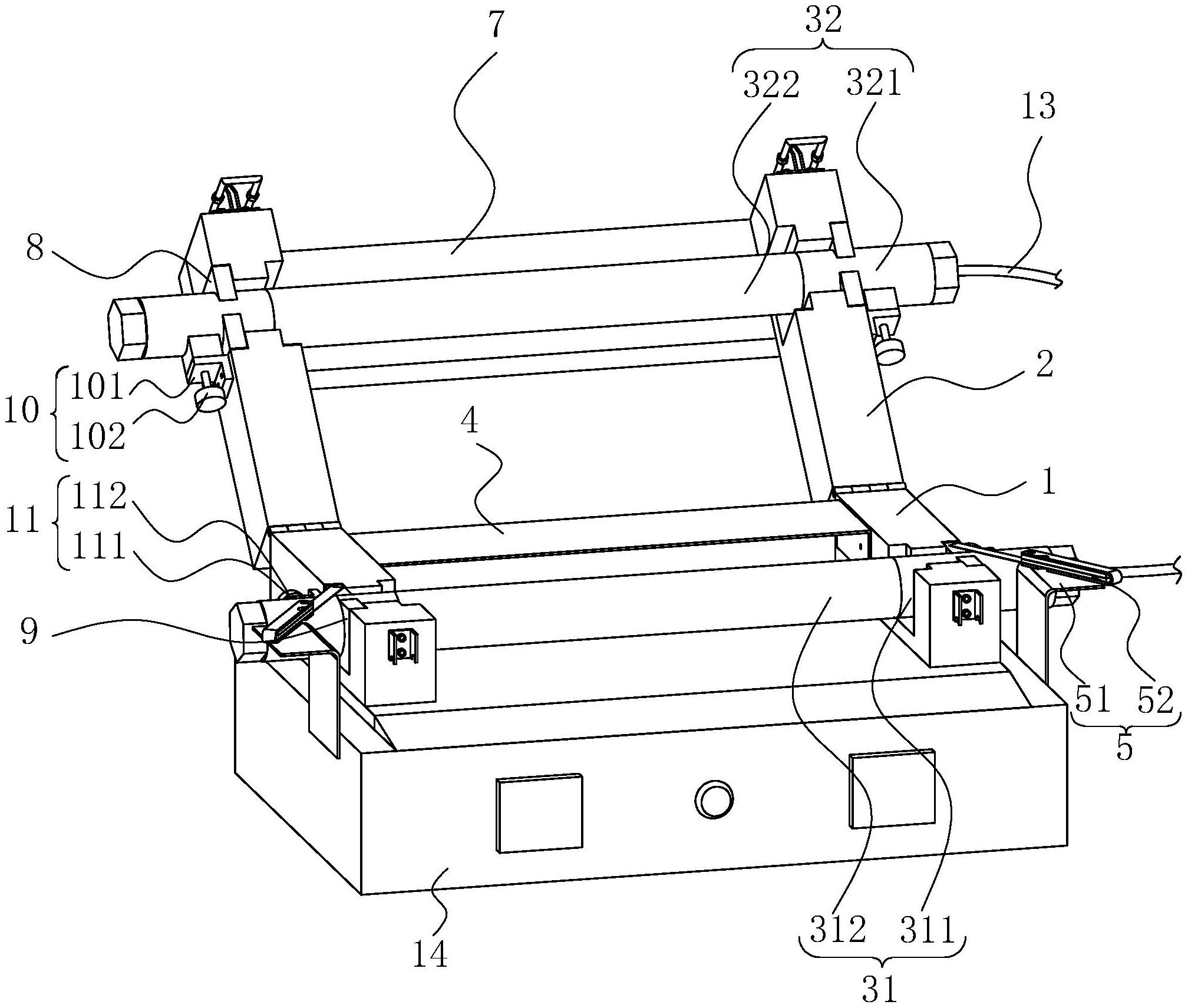
本申请涉及一种小型手动薄膜涂胶机,涉及薄膜涂料加工的领域,其包括下底座和上底座,上底座铰接设置在下底座上,上底座和下底座之间设置有夹膜部件,夹膜部件上夹辊和下夹辊,上夹辊滚动设置在上底座上,下夹辊滚动设置在下底座上,下底座上靠近夹膜部件处设置有置胶件。本申请具有提高测试粘胶薄膜性能时制样、取样便捷性的效果。


