授权公布号:CN216763586U
一种料桶装车装置
有效
申请
2021-12-15
申请公布
1970-01-01
授权
2022-06-17
预估到期
2031-12-15
| 申请号 | CN202123159824.8 |
| 申请日 | 2021-12-15 |
| 授权公布号 | CN216763586U |
| 授权公告日 | 2022-06-17 |
| 分类号 | B65G67/04;B65G69/00 |
| 分类 | 输送;包装;贮存;搬运薄的或细丝状材料; |
| 申请人名称 | 湖北鲁邦建材股份有限公司 |
| 申请人地址 | 湖北省孝感市汉川市刘家隔镇小兴村金鼓城家居产业园铼美封边条以西、小建兴家具以北 |
专利法律状态
2022-06-17
授权
状态信息
授权
摘要
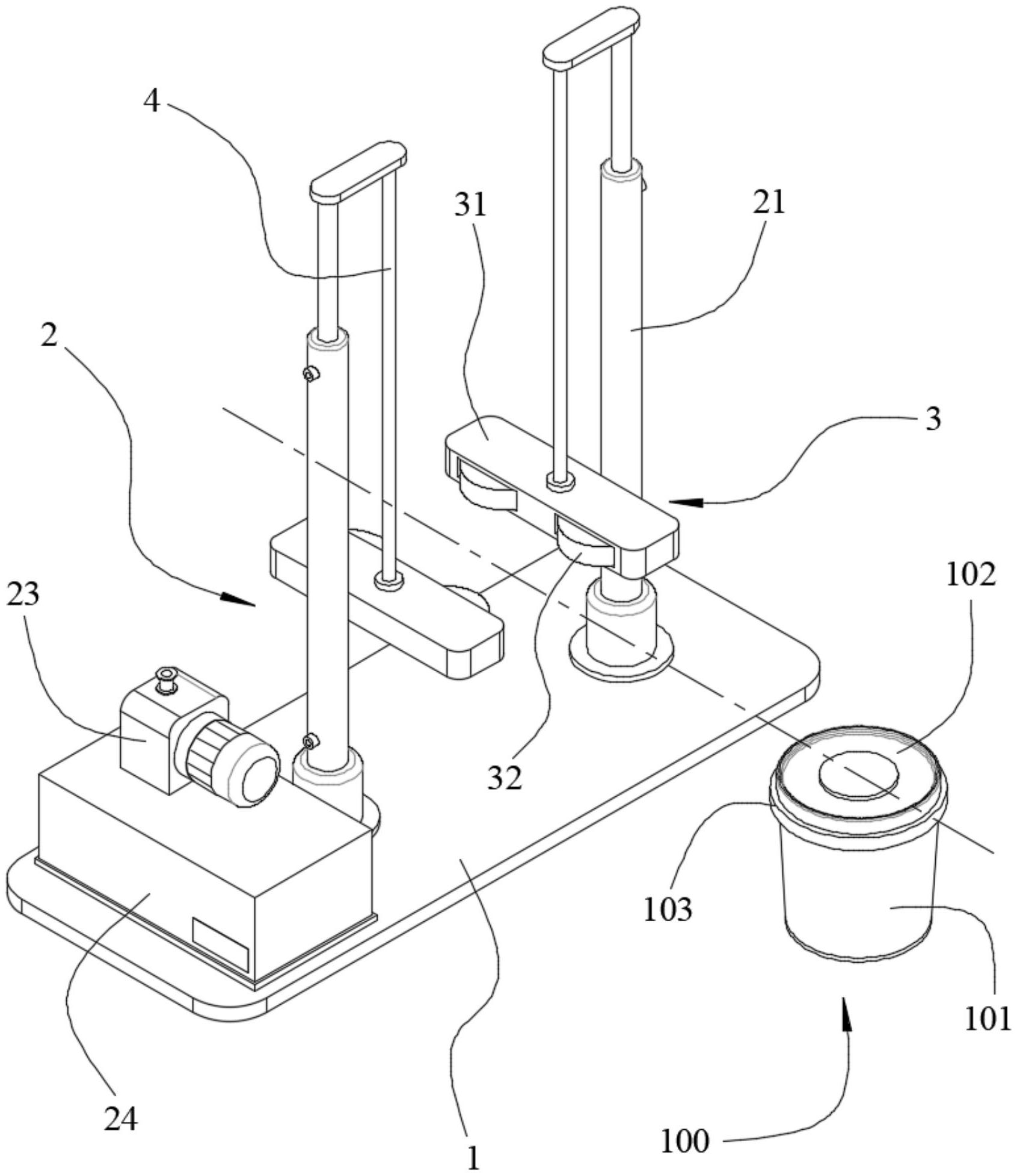
本实用新型涉及一种料桶装车装置,通过伸缩组件提升料桶,同时采用承载块承载防护圈的方式完成料桶的装载,使得在装车时无需费力地将料桶提起,仅需安排两个人员在车上及车下,将料桶卡入或抽离两个承载块即可,且在装载料桶时仅需拖拽便可完成,极大地节省了抬起料桶所需的体力,提高了装车的轻松程度。此外,本实用新型的结构简单,其体积显然小于笨重的叉车,具备较高的灵活性,可以才任意狭小的空间使用,具备很好的实用性。


