授权公布号:CN219012776U
风电机组的主传动系统和风电机组
有效
申请
2022-12-13
申请公布
1970-01-01
授权
2023-05-12
预估到期
2032-12-13
| 申请号 | CN202223385950.X |
| 申请日 | 2022-12-13 |
| 授权公布号 | CN219012776U |
| 授权公告日 | 2023-05-12 |
| 分类号 | F03D15/00;F03D80/70 |
| 分类 | 液力机械或液力发动机;风力、弹力或重力发动机;不包含在其他类目中的产生机械动力或反推力的发动机; |
| 申请人名称 | 华锐风电科技(集团)股份有限公司 |
| 申请人地址 | 北京市海淀区中关村大街59号文化大厦19层 |
专利法律状态
2023-05-12
授权
状态信息
授权
摘要
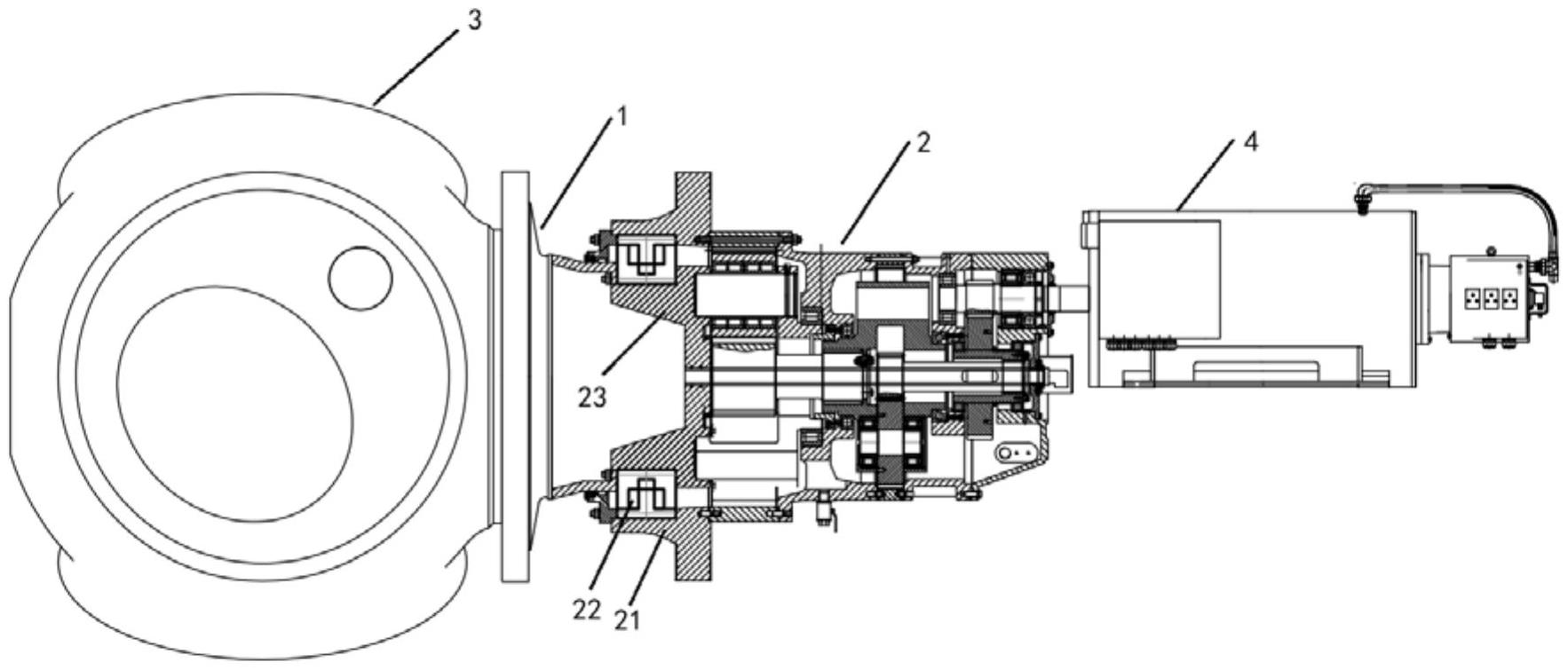
本实用新型公开了一种风电机组的主传动系统和风电机组,该主传动系统包括过渡法兰和齿轮箱,过渡法兰包括与叶轮连接的上风侧法兰结构和与齿轮箱的输入端连接的下风侧法兰结构,齿轮箱的输出端与发电机连接,齿轮箱包括箱体、一级行星齿系结构和主轴承,一级行星齿系结构和主轴承均设置在箱体内,主轴承的外圈与箱体连接,主轴承的内圈与一级行星齿系结构的行星架的上风侧连接,主轴承为三排圆柱滚子轴承。本实用新型将主轴承内置于齿轮箱,取消了传统风电机组的主轴,使得风电机组主传动系统轴向尺寸小,结构更紧凑,重量更轻;同时解决了大功率风电机组主轴变形对齿轮箱齿形啮合的影响,提高了齿轮箱的承载能力和寿命。


