授权公布号:CN202100909U
一种具有可调支架的储粉罐装置
有效
申请
2011-02-11
申请公布
1970-01-01
授权
2012-01-04
预估到期
2021-02-11
| 申请号 | CN201120039362.3 |
| 申请日 | 2011-02-11 |
| 授权公布号 | CN202100909U |
| 授权公告日 | 2012-01-04 |
| 分类号 | F16M11/24;B65D1/10 |
| 分类 | 工程元件或部件;为产生和保持机器或设备的有效运行的一般措施;一般绝热; |
| 申请人名称 | 德宏后谷咖啡有限公司 |
| 申请人地址 | 云南省昆明市东风东路建工大厦1501室 |
专利法律状态
2021-04-13
文件的公告送达
状态信息
文件的公告送达
2021-03-05
专利权的终止
状态信息
专利权的终止
2020-05-19
文件的公告送达
状态信息
文件的公告送达 IPC(主分类):F16M11/24 收件人:德宏后谷咖啡有限公司 文件名称:缴费通知书
2020-05-08
文件的公告送达
状态信息
文件的公告送达 IPC(主分类):F16M11/24 收件人:德宏后谷咖啡有限公司 文件名称:保全程序开始通知书
2019-12-31
专利权的保全及其解除
状态信息
专利权的保全IPC(主分类):F16M 11/24授权公告日:20120104登记生效日:20191128
2014-04-30
文件的公告送达
状态信息
文件的公告送达IPC(主分类):F16M 11/24收件人:熊相入文件名称:缴费通知书
2012-01-04
授权
状态信息
授权
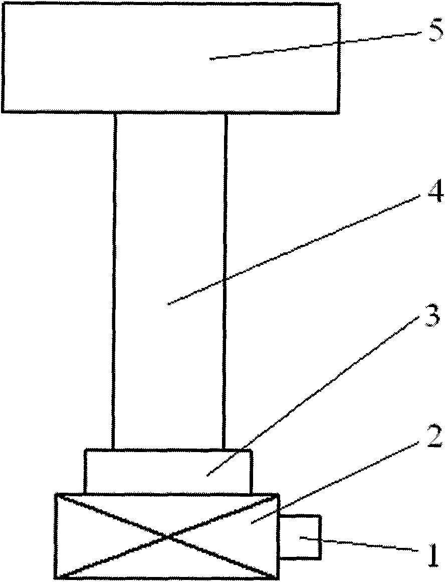
摘要
一种具有可调支架的储粉罐装置涉及食品行业用的储粉罐装置的结构改进。本实用新型提供一种可自由调节升降高度、操作方便、成本较低的具有可调支架的储粉罐装置。本实用新型由储粉罐和支架组成,支架设置在储粉罐下方,其结构要点是支架下方设有传动机构,传动机构与电机相连,电机上设有与电机相连的控制器。本实用新型可以很方便地实现储粉罐的自由升降,且不需要专人操作。


