授权公布号:CN213269329U
一种静音门锁的静音方舌结构
有效
申请
2020-06-30
申请公布
1970-01-01
授权
2021-05-25
预估到期
2030-06-30
| 申请号 | CN202021240214.3 |
| 申请日 | 2020-06-30 |
| 授权公布号 | CN213269329U |
| 授权公告日 | 2021-05-25 |
| 分类号 | E05B15/10;E05B17/00 |
| 分类 | 锁;钥匙;门窗零件;保险箱; |
| 申请人名称 | 温州华意利五金装饰有限公司 |
| 申请人地址 | 浙江省温州市经济技术开发区滨海园区丁香路659号 |
专利法律状态
2021-05-25
授权
状态信息
授权
摘要
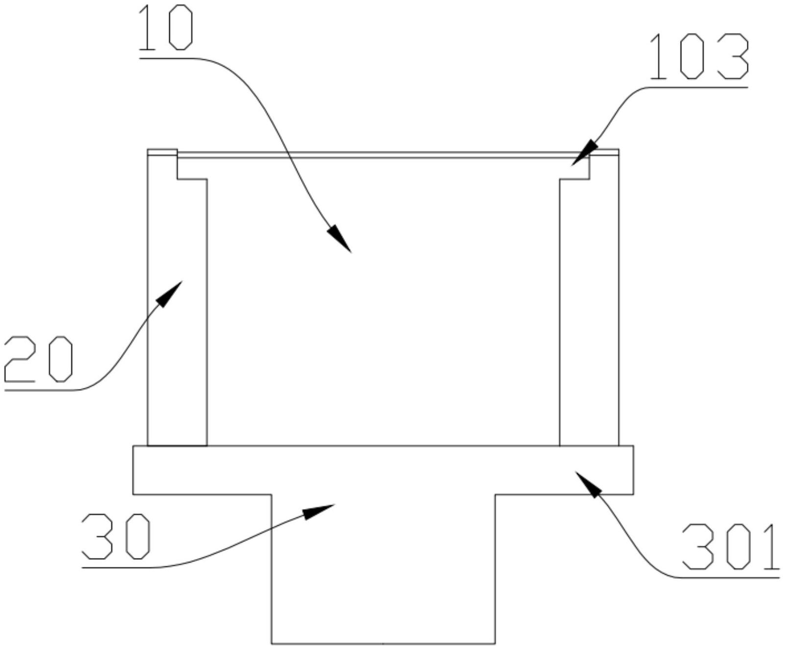
本实用新型涉及五金锁具领域,具体是一种静音门锁的静音方舌结构,包括方舌,方舌两侧均设有消音块,方舌对应消音块的一侧设有连接部,连接部上形成有向外凸出的限位块,消音块内形成有与连接部相配合的连接槽,连接部顶端形成有第一止向板,方舌底部形成有连接孔,连接孔内设有方舌连杆,方舌连杆两侧形成有第二止向板,消音块设在第一止向板和第二止向板之间。本实用新型方舌的两侧设有消音块,能够防止方舌移动时与锁壳和扣盒接触发生响声,消音块连接在方舌两侧的连接部上,通过限位块抵在连接槽内,限制消音块横向脱离,第一止向板和第二止向板分别抵在消音块的上下两端,限制消音块纵向脱离,其结构简单,连接牢固。


