授权公布号:CN109011302B
一种悬挂式灭火装置用的阀门
有效
申请
2018-06-04
申请公布
2018-12-18
授权
2021-03-26
预估到期
2038-06-04
| 申请号 | CN201810564814.6 |
| 申请日 | 2018-06-04 |
| 申请公布号 | CN109011302A |
| 申请公布日 | 2018-12-18 |
| 授权公布号 | CN109011302B |
| 授权公告日 | 2021-03-26 |
| 分类号 | A62C35/10 |
| 分类 | 救生;消防; |
| 申请人名称 | 浙江欧伦泰防火设备有限公司 |
| 申请人地址 | 浙江省宁波市余姚市黄家埠镇五车堰 |
专利法律状态
2021-03-26
授权
状态信息
授权
2019-01-11
实质审查的生效
状态信息
实质审查的生效
2018-12-18
公布
状态信息
公布
摘要
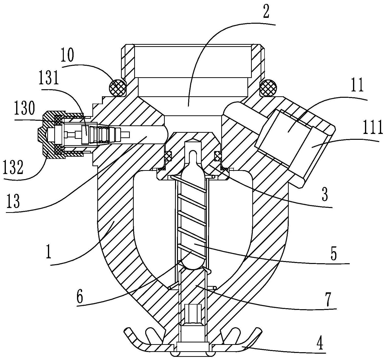
本发明公开了一种悬挂式灭火装置用的阀门,包括阀体,阀体内设有喷口,喷口内设有球座,阀体与喷口相对的一端设有导流片,球座与阀体之间设有支撑球座的玻璃球,阀体的侧壁设有与喷口直接连通的测压孔、泄压孔和进气孔,测压孔和进气孔位于同一平面,阀体的侧面还设有辅助测量孔,玻璃球的外侧包覆固定设有导热环网,导热环网的两端分别与球座和阀体连接固定。本发明的好处是提高灭火器灭火时的准确性和响应速度;辅助测量孔设置压力传感器,精确测量阀门内部的压力,提高玻璃球碎裂的可控性和安全性;防止球座掉落而产生安全隐患,并方便阀门的回收利用。


