授权公布号:CN215372026U
一种食用级铝合金气瓶
有效
申请
2021-06-28
申请公布
1970-01-01
授权
2021-12-31
预估到期
2031-06-28
| 申请号 | CN202121448665.0 |
| 申请日 | 2021-06-28 |
| 授权公布号 | CN215372026U |
| 授权公告日 | 2021-12-31 |
| 分类号 | F17C1/14;F17C5/00;F17C13/04;F17C13/12;F16K24/00;F16K1/00;F16K1/32;F16K17/04;F16K17/164 |
| 分类 | 气体或液体的贮存或分配; |
| 申请人名称 | 浙江欧伦泰防火设备有限公司 |
| 申请人地址 | 浙江省宁波市余姚市黄家埠镇五车堰 |
专利法律状态
2021-12-31
授权
状态信息
授权
摘要
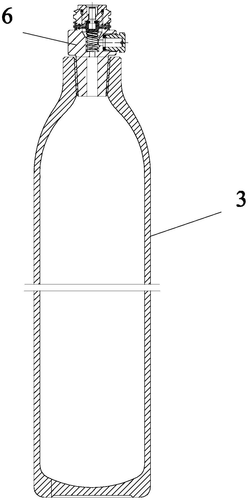
本实用新型公开了一种食用级铝合金气瓶,属于气瓶领域,包括阀门和一体化成型的瓶体,其特征是,所述瓶体自上而下依次包括瓶口、瓶肩、筒体和瓶底,所述瓶口与所述阀门连接,所述瓶底的内侧设有凹面,所述凹面的形状为球面型,并且其球心位于所述筒体的轴心上,所述瓶底的下侧设有凹槽;一旦瓶体内部压力较大时,形变会集中在凹面的中心处,又因为瓶底下方存在凹槽,进一步降低瓶底中心位置的厚度,因此,形变会完全发生在凹槽处,而由于凹槽距离瓶底的底部仍有一段距离,即使发生了形变,也不会影响瓶底的稳定性,解决了现有技术中,容易产生瓶底形变导致固定不稳的情况。


