授权公布号:CN114458954B
一种具有增压功能的二氧化碳灭火器
有效
申请
2021-12-03
申请公布
2022-05-10
授权
2023-10-03
预估到期
2041-12-03
| 申请号 | CN202111466076.X |
| 申请日 | 2021-12-03 |
| 申请公布号 | CN114458954A |
| 申请公布日 | 2022-05-10 |
| 授权公布号 | CN114458954B |
| 授权公告日 | 2023-10-03 |
| 分类号 | F17C13/04;A62C13/64;A62C13/76;A62C99/00 |
| 分类 | 气体或液体的贮存或分配; |
| 申请人名称 | 浙江欧伦泰防火设备有限公司 |
| 申请人地址 | 浙江省宁波市余姚市黄家埠镇五车堰 |
专利法律状态
2023-10-03
授权
状态信息
授权
2022-05-27
实质审查的生效
状态信息
实质审查的生效;IPC(主分类):F17C13/04;申请日:20211203
2022-05-10
公布
状态信息
公布
摘要
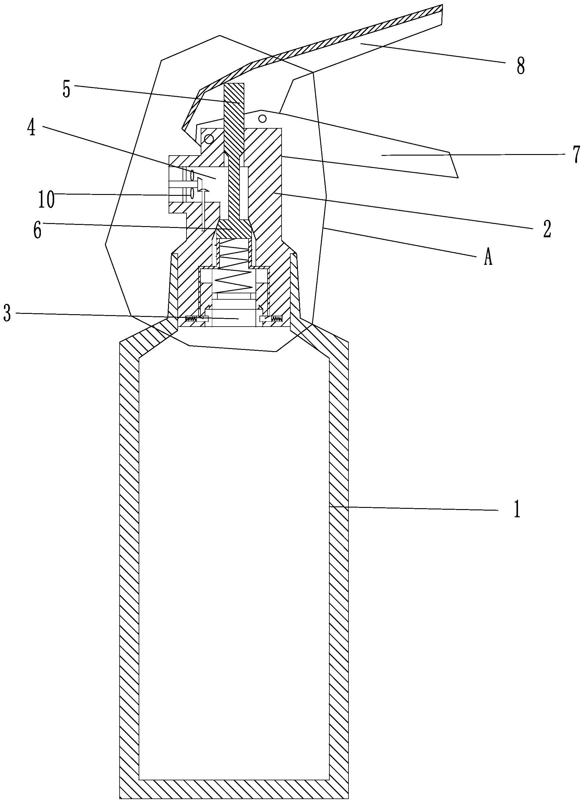
本发明公开了一种具有增压功能的二氧化碳灭火器,涉及灭火器技术领域;包括瓶身、阀门;瓶身采用铝合金材质;阀门包括和瓶身螺纹连接的阀体、位于阀体内的进气道和出气道、阀杆、阀芯、下把手、上把手;进气道靠近出气道的一端设有呈圆台形的密封面,进气道内设有第一弹簧,上把手用于挤压阀杆从而使得阀芯和密封面脱开;进气道靠近瓶身的一端设有第一环形凹槽,第一环形凹槽内转动连接有加热环,阀门还包括用于转动加热环从而使得其温度升高的转动装置、用于使得加热环和第一环形凹槽脱开掉入瓶身内的脱开机构。灭火时,加热环温度升高,通过热传导,可一定程度加热瓶身内的温度,进而供二氧化碳汽化吸热,减缓压力下降。


