授权公布号:CN111396578B
一种带检修功能的阀门
有效
申请
2019-12-12
申请公布
2020-07-10
授权
2021-09-28
预估到期
2039-12-12
| 申请号 | CN201911274179.9 |
| 申请日 | 2019-12-12 |
| 申请公布号 | CN111396578A |
| 申请公布日 | 2020-07-10 |
| 授权公布号 | CN111396578B |
| 授权公告日 | 2021-09-28 |
| 分类号 | F16K1/38;F16K1/32;F16K1/52;F16K1/00;F16K5/06;F16K5/08;F16K13/00;F16K27/02;F16K27/06;F16K31/60;F16K31/54;A62C13/64;A62C13/76 |
| 分类 | 工程元件或部件;为产生和保持机器或设备的有效运行的一般措施;一般绝热; |
| 申请人名称 | 浙江欧伦泰防火设备有限公司 |
| 申请人地址 | 浙江省宁波市余姚市黄家埠镇五车堰 |
专利法律状态
2021-09-28
授权
状态信息
授权
2020-08-21
实质审查的生效
状态信息
实质审查的生效;IPC(主分类):F16K1/38;申请日:20191212
2020-07-10
公布
状态信息
公布
摘要
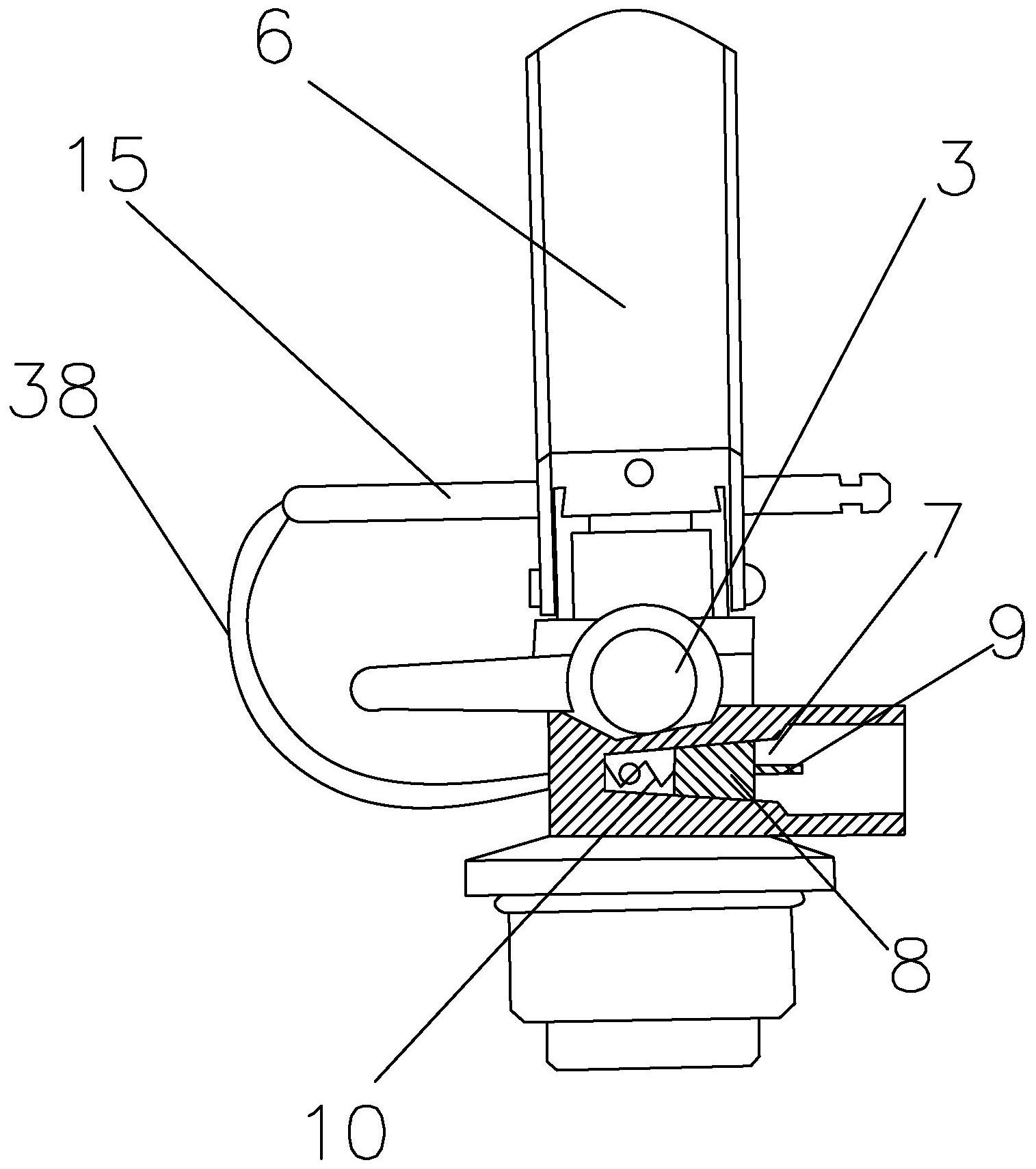
本发明公开了一种带检修功能的阀门,涉及灭火器零部件技术领域;包括阀体、进气管道、出气口、活塞、提把、下压把,阀体一侧设有检修口,检修口与进气管道连通,检修口内设有与其适配的第二活塞,检修口内设有弹簧,第二活塞朝向检修口外部的一侧固接有推杆,阀体的顶端设有导向槽,导向槽的底端设有凹槽,导向槽内设有压杆,压杆底端朝向活塞弯折形成连杆,连杆的下侧设有第二弹簧,第二弹簧底端连接在凹槽的下侧,第二弹簧顶端连接在连杆上,活塞上沿设有锥台,进气管道顶端设有与锥台适配的顶紧坡,在第二弹簧的作用下,锥台顶紧在顶紧坡上,压杆顶端转动连接有滚轮。本发明调整压力方便,具备检修功能。


