授权公布号:CN212804236U
一种超压保护阀门
有效
申请
2020-06-17
申请公布
1970-01-01
授权
2021-03-26
预估到期
2030-06-17
| 申请号 | CN202021129576.5 |
| 申请日 | 2020-06-17 |
| 授权公布号 | CN212804236U |
| 授权公告日 | 2021-03-26 |
| 分类号 | F16K17/40;F16K31/60;F16K1/32;A62C13/64;F16K1/00 |
| 分类 | 工程元件或部件;为产生和保持机器或设备的有效运行的一般措施;一般绝热; |
| 申请人名称 | 浙江欧伦泰防火设备有限公司 |
| 申请人地址 | 浙江省宁波市余姚市黄家埠镇五车堰 |
专利法律状态
2021-03-26
授权
状态信息
授权
摘要
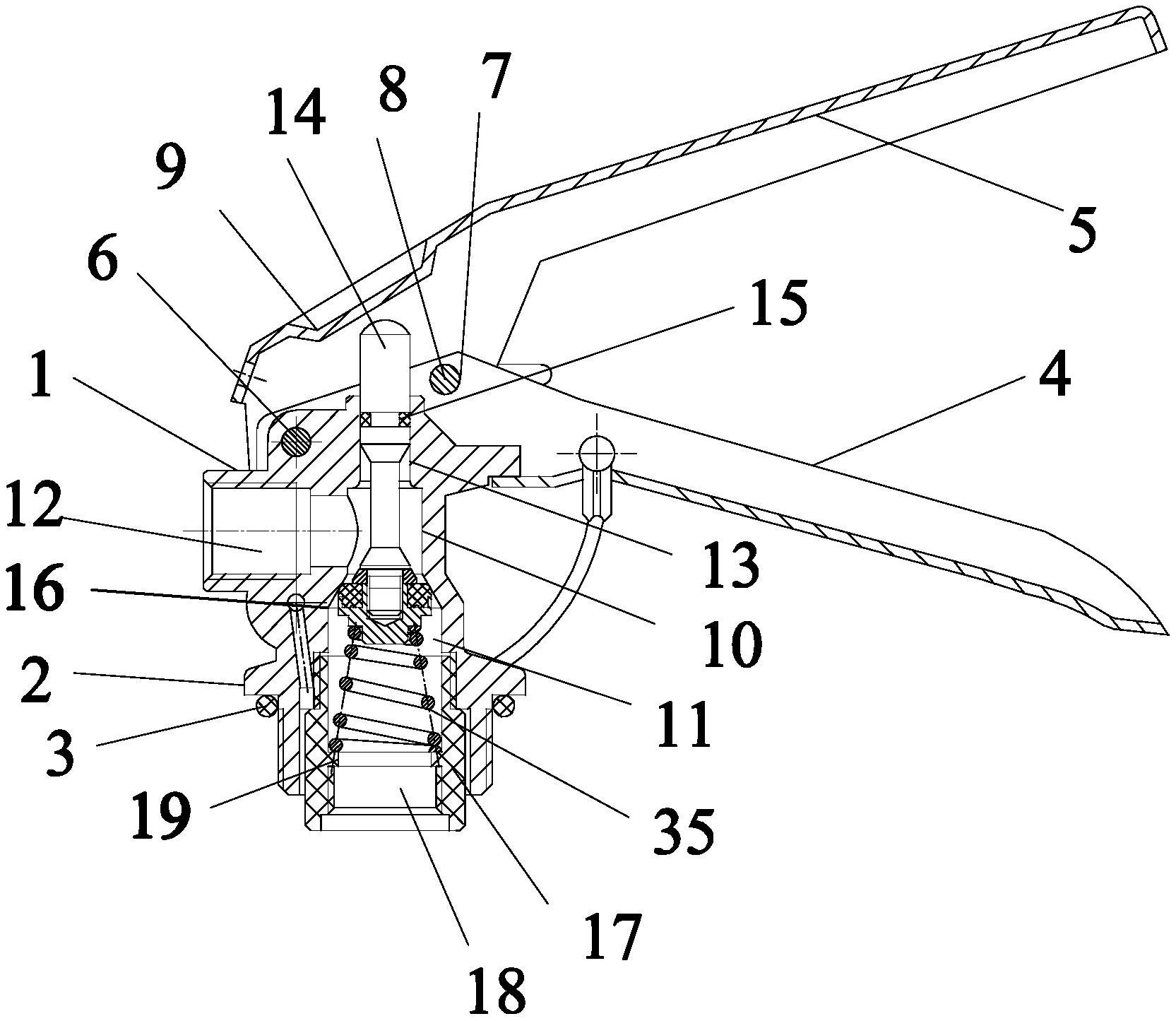
本实用新型公开了一种超压保护阀门,属于灭火器阀门领域,包括阀体,所述阀体内设有气体通道,所述气体通道上连接有超压保护通道,所述超压保护通道内安装有释放装置,所述释放装置包括同轴设置的释放座、释放帽、释放垫和释放弹簧,当灭火器内气压突然增大时,气体可以通过击穿释放垫来完成泄压,解决了现有技术中灭火器在气压突然增加时可能会发生爆炸或者导致阀门损坏的问题。


