授权公布号:CN215371161U
一种气泡水机的气瓶阀门
有效
申请
2021-06-28
申请公布
1970-01-01
授权
2021-12-31
预估到期
2031-06-28
| 申请号 | CN202121450975.6 |
| 申请日 | 2021-06-28 |
| 授权公布号 | CN215371161U |
| 授权公告日 | 2021-12-31 |
| 分类号 | F16K24/00;F16K1/00;F16K1/32;F16K17/04;F16K17/164;F17C13/04;F17C13/12;B01D35/04 |
| 分类 | 工程元件或部件;为产生和保持机器或设备的有效运行的一般措施;一般绝热; |
| 申请人名称 | 浙江欧伦泰防火设备有限公司 |
| 申请人地址 | 浙江省宁波市余姚市黄家埠镇五车堰 |
专利法律状态
2021-12-31
授权
状态信息
授权
摘要
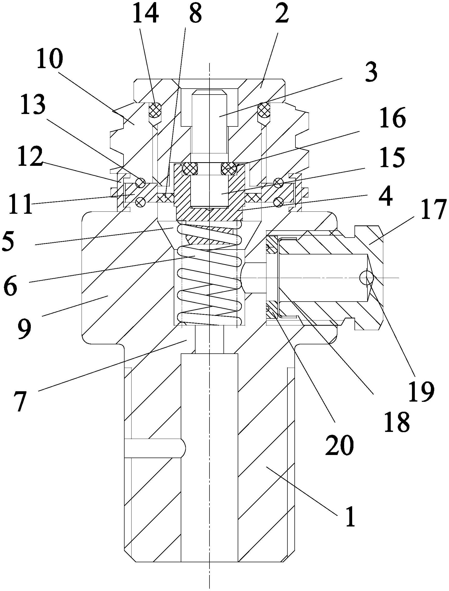
本实用新型公开了一种气泡水机的气瓶阀门,属于气瓶阀门领域,包括阀体、安装在阀体上侧的拼帽,所述拼帽内安装有阀杆和阀芯,所述阀体内设有气体通道,所述阀芯位于气体通道内,所述阀芯外部安装有滤网,气体在通入气瓶的过程中,拼帽与阀芯之间会产生间隙,从而使气体进入气体通道,而位于阀芯外侧的滤网可以过滤从气体通道经过的气体,从而提高气体的洁净程度,解决了现有技术中,在气泡水生产的过程中,气体容易被杂质污染,从而影响食品安全的问题。


