授权公布号:CN217272160U
一种用于潜水呼吸器高压阀门
有效
申请
2022-03-17
申请公布
1970-01-01
授权
2022-08-23
预估到期
2032-03-17
| 申请号 | CN202220591244.1 |
| 申请日 | 2022-03-17 |
| 授权公布号 | CN217272160U |
| 授权公告日 | 2022-08-23 |
| 分类号 | F16K17/20;F16K25/04;F16K27/00;F16F15/04 |
| 分类 | 工程元件或部件;为产生和保持机器或设备的有效运行的一般措施;一般绝热; |
| 申请人名称 | 浙江欧伦泰防火设备有限公司 |
| 申请人地址 | 浙江省宁波市余姚市黄家埠镇五车堰 |
专利法律状态
2022-08-23
授权
状态信息
授权
摘要
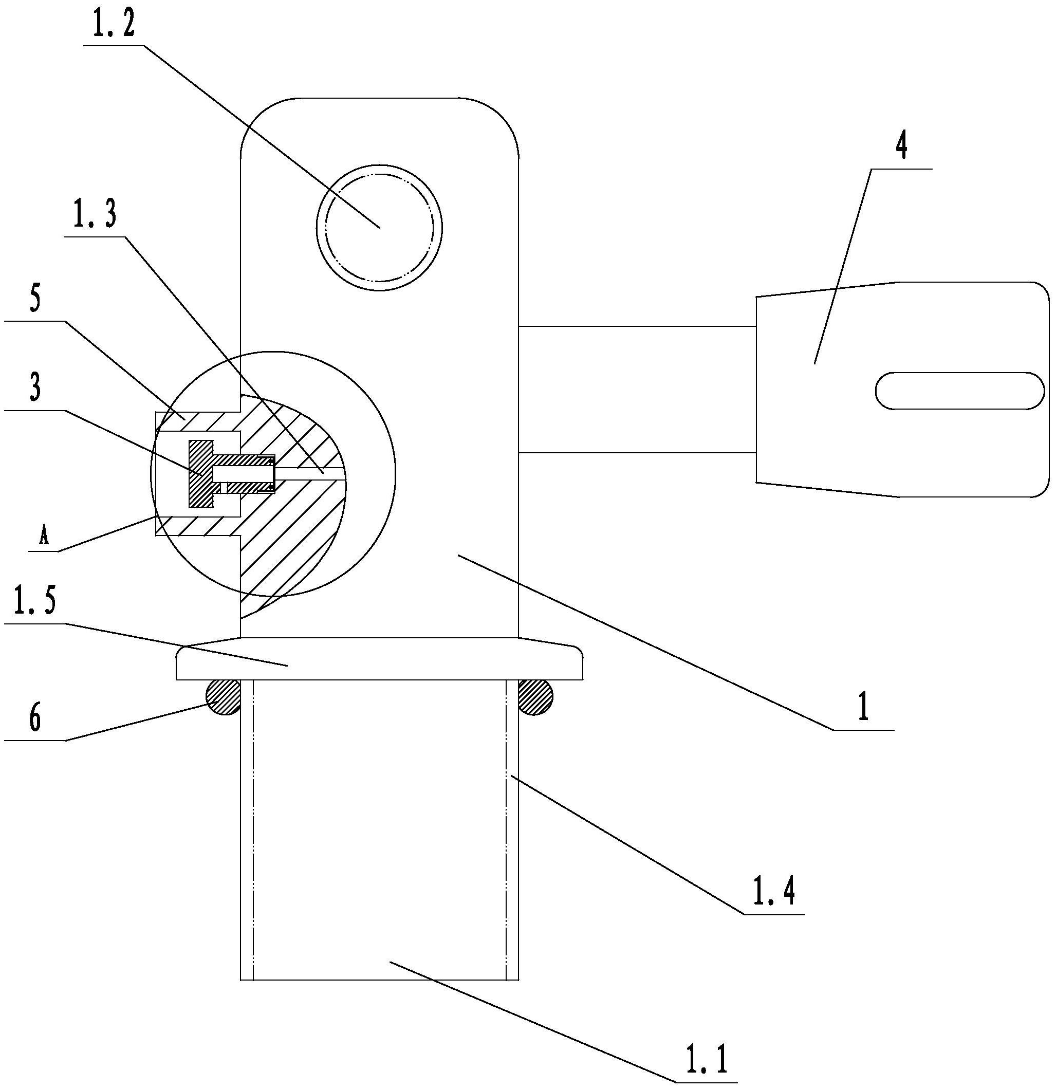
本实用新型公开了一种用于潜水呼吸器高压阀门,包括阀体、阀芯、超压保护装置和阀门开关,阀体上设有进气口和出气口,进气口和出气口相对设置,超压保护装置和阀门开关设置在阀体的相对两侧,阀芯设置在阀体内且与阀门开关连接,所述阀体表面设有镀铬层。本实用新型提供了一种用于潜水呼吸器高压阀门,可以保证阀体在海水浸泡下不容易被腐蚀,更加安全且便于水下操作。


