授权公布号:CN214485424U
一种地下管廊自动灭火装置阀门
有效
申请
2020-11-24
申请公布
1970-01-01
授权
2021-10-26
预估到期
2030-11-24
| 申请号 | CN202022735643.4 |
| 申请日 | 2020-11-24 |
| 授权公布号 | CN214485424U |
| 授权公告日 | 2021-10-26 |
| 分类号 | A62C37/14;A62C31/00 |
| 分类 | 救生;消防; |
| 申请人名称 | 浙江欧伦泰防火设备有限公司 |
| 申请人地址 | 浙江省宁波市余姚市黄家埠镇五车堰 |
专利法律状态
2021-10-26
授权
状态信息
授权
摘要
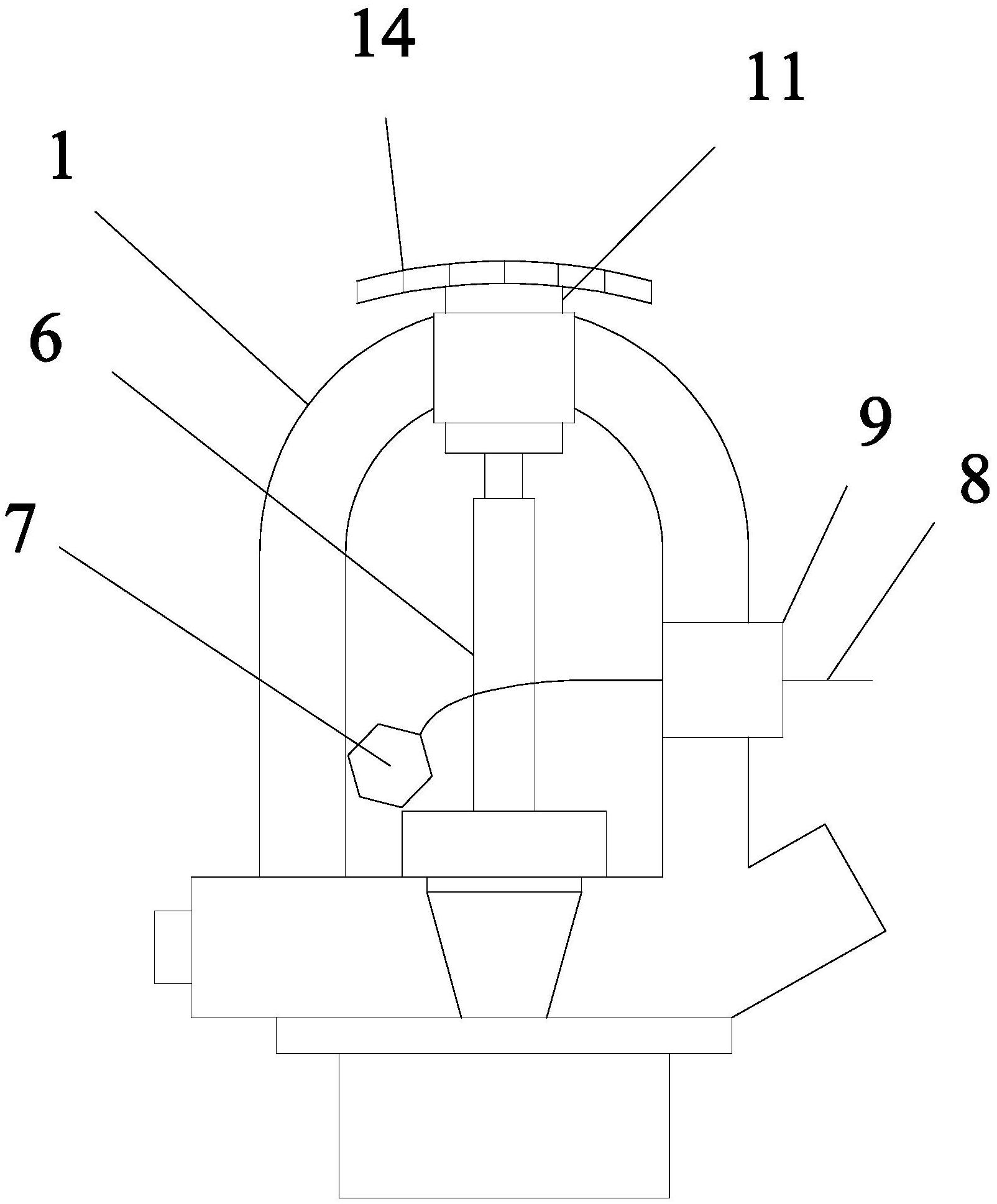
本实用新型公开了一种地下管廊自动灭火装置阀门,属于阀门制造领域,包括包括阀门主体,所述阀门主体内部设有流道和用于堵住所述流道的阀体,所述阀体上连接有感温元件,所述阀门主体上还设有压杆,所述压杆的两端连接有手控绳;当工作人员观察到地下管廊内的火情时,可以通过拉动所述手控绳来手动控制阀门的开启,解决了现有技术中在火情刚发生时,感温元件不会立刻破裂,导致灭火不够及时的问题。


