授权公布号:CN217153141U
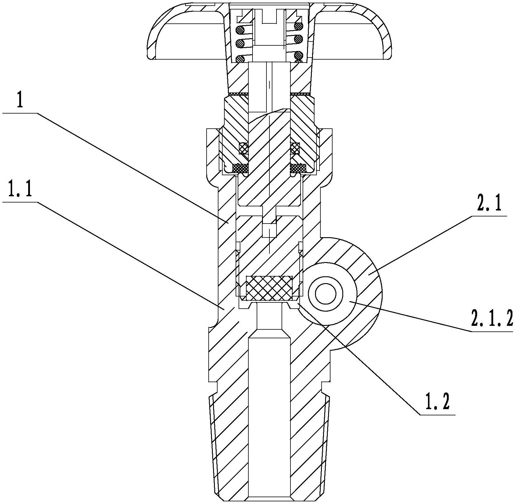
一种带有余压保护装置的氧气瓶阀门
有效
申请
2022-03-17
申请公布
1970-01-01
授权
2022-08-09
预估到期
2032-03-17
| 申请号 | CN202220593521.2 |
| 申请日 | 2022-03-17 |
| 授权公布号 | CN217153141U |
| 授权公告日 | 2022-08-09 |
| 分类号 | F16K17/06;F16K27/02 |
| 分类 | 工程元件或部件;为产生和保持机器或设备的有效运行的一般措施;一般绝热; |
| 申请人名称 | 浙江欧伦泰防火设备有限公司 |
| 申请人地址 | 浙江省宁波市余姚市黄家埠镇五车堰 |
专利法律状态
2022-08-09
授权
状态信息
授权
摘要
本实用新型公开了一种带有余压保护装置的氧气瓶阀门,包括开关阀本体和保压机构,开关阀本体包括阀体,阀体上设有出气孔,保压机构包括外壳、保压接头、保压阀芯和保压弹簧,外壳上设有相互连通的密封孔和连通腔,连通腔与出气孔连通,外壳与阀体固定,保压接头与外壳密封固定,保压接头上设有内腔,保压弹簧和保压阀芯设置在内腔内,保压阀芯与内腔的侧壁滑动密封连接,保压阀芯的一端设有密封凸起,密封凸起伸出内腔且与密封孔密封接触。本实用新型提供了一种带有余压保护装置的氧气瓶阀门,在出气孔附近增设一个保压机构,使氧气瓶始终会保持一定余压,防止外部气体进入,从未避免氧气瓶内部被污染。


