授权公布号:CN211812201U
一种阀门智能装夹装置
有效
申请
2019-12-12
申请公布
1970-01-01
授权
2020-10-30
预估到期
2029-12-12
| 申请号 | CN201922226964.9 |
| 申请日 | 2019-12-12 |
| 授权公布号 | CN211812201U |
| 授权公告日 | 2020-10-30 |
| 分类号 | B65G47/90 |
| 分类 | 输送;包装;贮存;搬运薄的或细丝状材料; |
| 申请人名称 | 浙江欧伦泰防火设备有限公司 |
| 申请人地址 | 浙江省宁波市余姚市黄家埠镇五车堰 |
专利法律状态
2020-10-30
授权
状态信息
授权
摘要
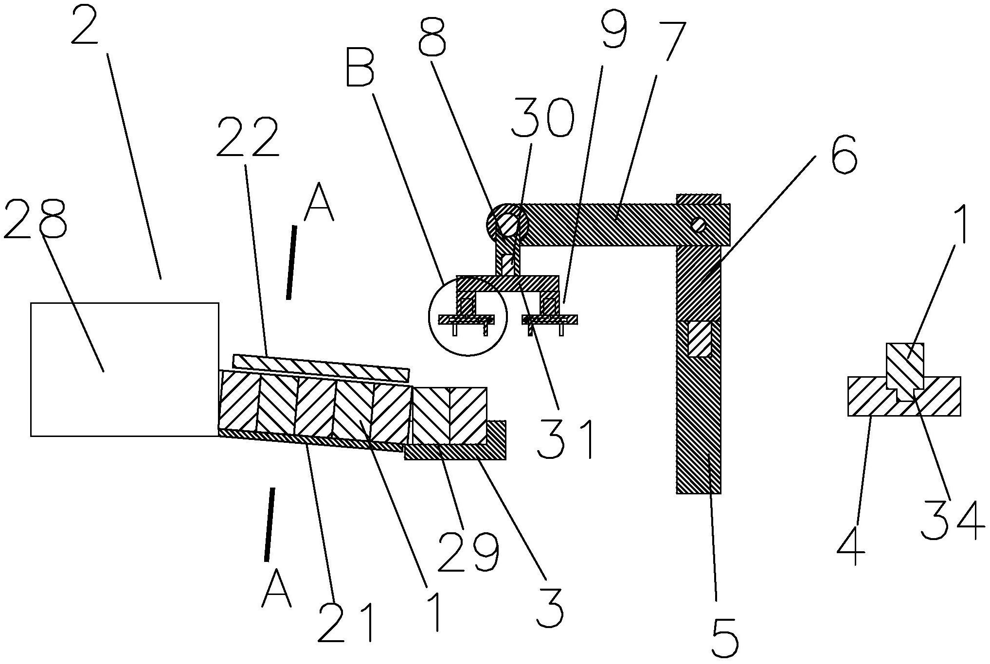
本实用新型公开了一种阀门智能装夹装置,涉及阀门生产加工装置技术领域;包括取料平台、用于将阀门输送到取料平台的震动盘、用于对阀门进行加工的工作平台、用于搬运阀门的夹持机构,所述夹持机构包括底柱、与底柱同轴的位于底柱顶端的顶柱、用于驱动顶柱绕着其轴转动的电机、铰接在顶柱顶端的横臂、用于驱动横臂绕着顶柱顶端转动的第二电机、铰接在横臂远离顶柱一端的腕部、用于驱动腕部绕着横臂端部转动的第三电机、位于腕部远离横臂一端的夹持部,所述夹持部包括支撑板、若干滑动连接在支撑板下侧的夹块、用于驱动夹块开合的驱动机构。本实用新型效率高,危险性小,夹持效果好。


