授权公布号:CN217233166U
快拆自弹铰链
有效
申请
2022-01-17
申请公布
1970-01-01
授权
2022-08-19
预估到期
2032-01-17
| 申请号 | CN202220144461.6 |
| 申请日 | 2022-01-17 |
| 授权公布号 | CN217233166U |
| 授权公告日 | 2022-08-19 |
| 分类号 | E05D3/02;E05D5/10;E05D5/12;E05D5/14;E05D11/00;E05F1/12 |
| 分类 | 锁;钥匙;门窗零件;保险箱; |
| 申请人名称 | 温州一卡锁具科技有限公司 |
| 申请人地址 | 浙江省温州市瓯海区潘桥街道永泰路350号 |
专利法律状态
2022-08-19
授权
状态信息
授权
摘要
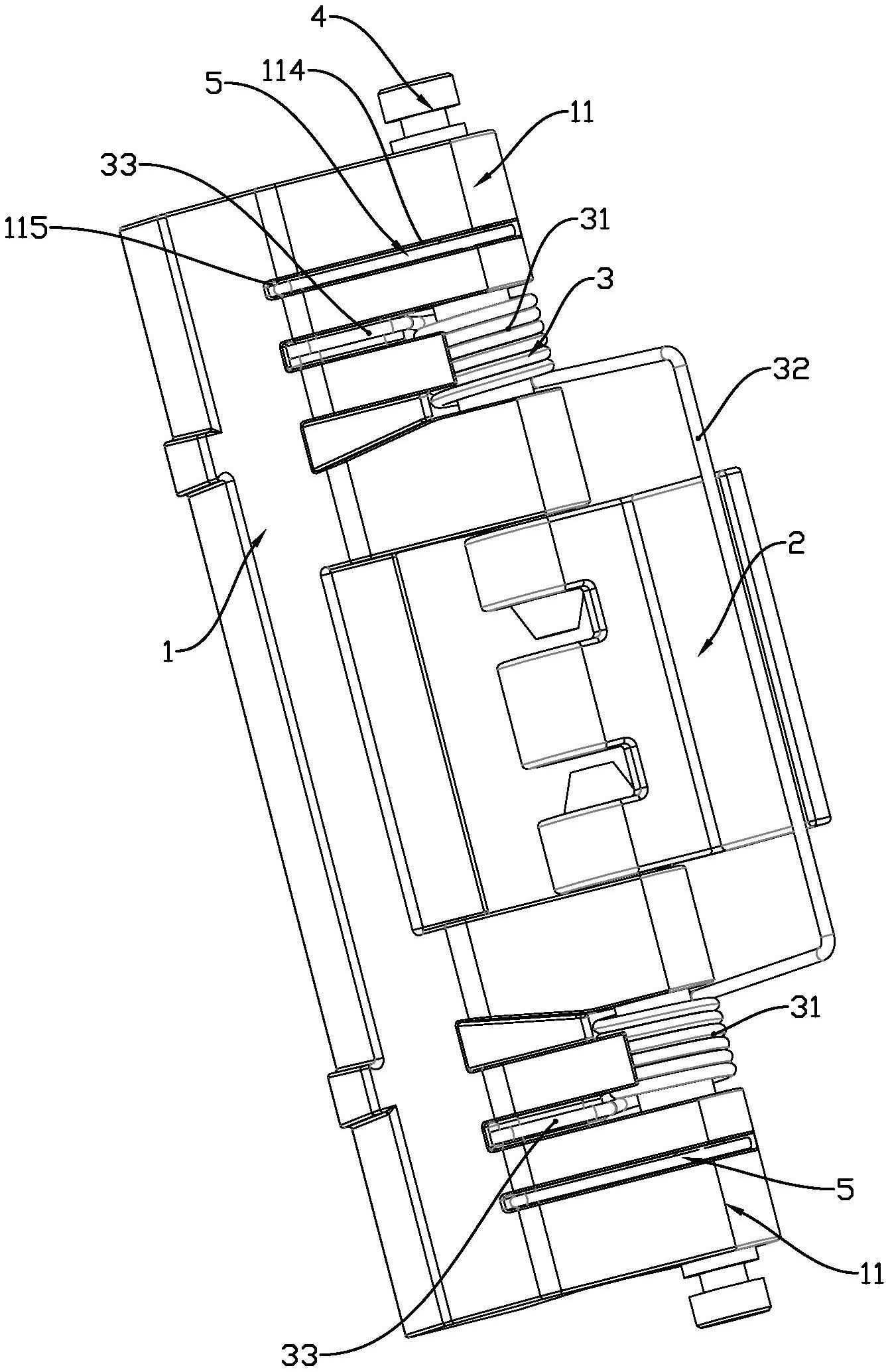
本实用新型涉及一种快拆自弹铰链,包括静铰板、动铰板、弹开扭簧及销轴,动铰板置于静铰板的两个轴套部之间并经销轴铰接在静铰板上,轴套部上弹性卡舌卡入销轴上锁定卡槽以将销轴端部保持插置于动铰板的铰接孔内,在两个轴套部的轴向中部断开形成弹簧容置凹口,弹开扭簧的螺旋部置于弹簧容置凹口内并与轴孔同轴,销轴穿过弹开扭簧的螺旋部,弹开扭簧的一根弹簧臂抵靠于动铰板上,另一根弹簧臂抵靠于静铰板上,销轴上设有位于锁定卡槽和前端之间的销轴止脱卡槽,弹性卡舌卡入销轴止脱卡槽内以限制销轴拔脱轴套部,且销轴轴向移动至销轴止脱卡槽与弹性卡舌对应位置时,销轴横跨弹簧容置凹口。具有动铰板与静铰板快速拆装及可自动弹开的优点。


