授权公布号:CN213854040U
一种可调节温度且可定时的搅拌装置
有效
申请
2020-09-23
申请公布
1970-01-01
授权
2021-08-03
预估到期
2030-09-23
| 申请号 | CN202022117203.2 |
| 申请日 | 2020-09-23 |
| 授权公布号 | CN213854040U |
| 授权公告日 | 2021-08-03 |
| 分类号 | B01F7/18;B01F15/06 |
| 分类 | 一般的物理或化学的方法或装置; |
| 申请人名称 | 东鹏饮料(集团)股份有限公司 |
| 申请人地址 | 广东省深圳市南山区桃源街道珠光北路142号众冠红花岭工业西区3栋1楼 |
专利法律状态
2021-08-03
授权
状态信息
授权
2020-09-23
公布
状态信息
公布
摘要
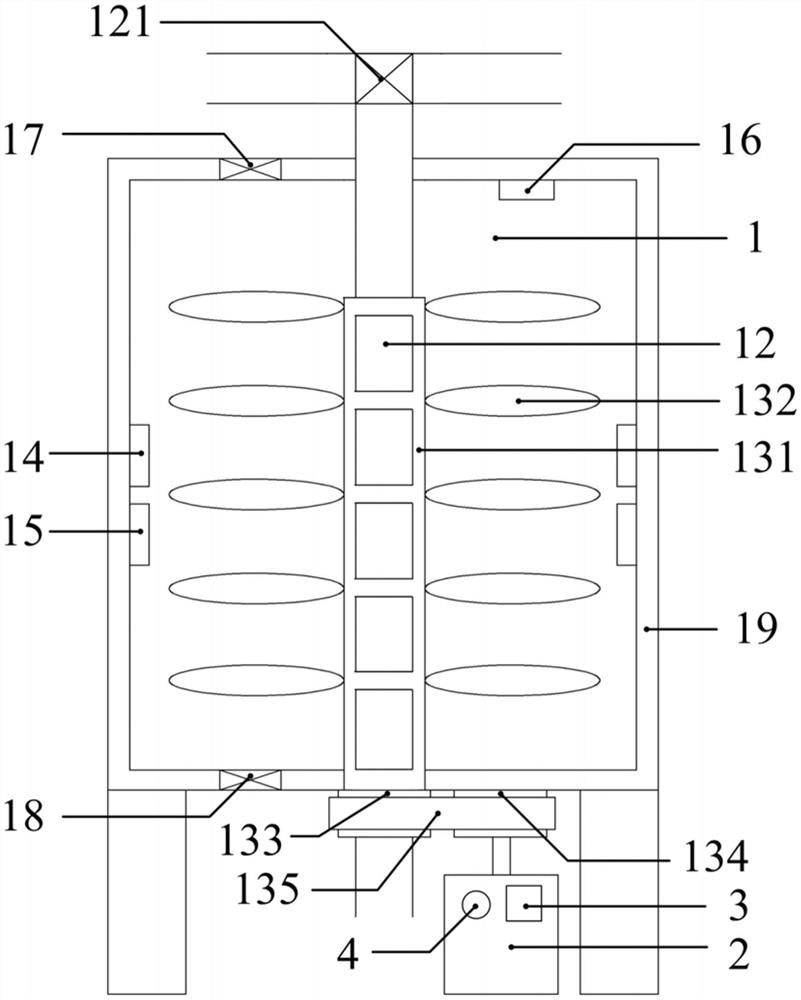
本申请提供了一种可调节温度且可定时的搅拌装置,包括搅拌桶,以及与搅拌桶连接的搅拌结构和换热结构;搅拌桶外部设有用于驱动搅拌结构的电机;电机外部设有定时开关,电机与电源通过定时开关电连接;换热结构包括贯穿搅拌桶的换热管,以及设置于搅拌桶外部的蒸汽管、冷液管和控制阀;蒸汽管一端与蒸汽箱连接,另一端与控制阀的第一阀口连接;冷液管一端与冷液箱连接,另一端与控制阀的第二阀口连接;换热管的端部与控制阀的第三阀口连接,第一阀口和第二阀口不同时开启。本申请可以在搅拌的过程中根据需要加热或冷却物料,实现对物料温度的灵活调控;此外,还可以让操作人员根据需要个性化设定搅拌时间,降低了操作人员的劳动强度。


