授权公布号:CN217119986U
陶瓷砖粘结剂生产防凝固装置
有效
申请
2022-04-02
申请公布
1970-01-01
授权
2022-08-05
预估到期
2032-04-02
| 申请号 | CN202220774453.X |
| 申请日 | 2022-04-02 |
| 授权公布号 | CN217119986U |
| 授权公告日 | 2022-08-05 |
| 分类号 | B01F27/90;B01F27/191;B01F27/808;B01F35/93;B01F35/12;B01F101/36N |
| 分类 | 一般的物理或化学的方法或装置; |
| 申请人名称 | 江苏雄鹰建材科技有限公司 |
| 申请人地址 | 江苏省常州市新北区奔牛镇何家村委塘滩路88号 |
专利法律状态
2022-08-05
授权
状态信息
授权
摘要
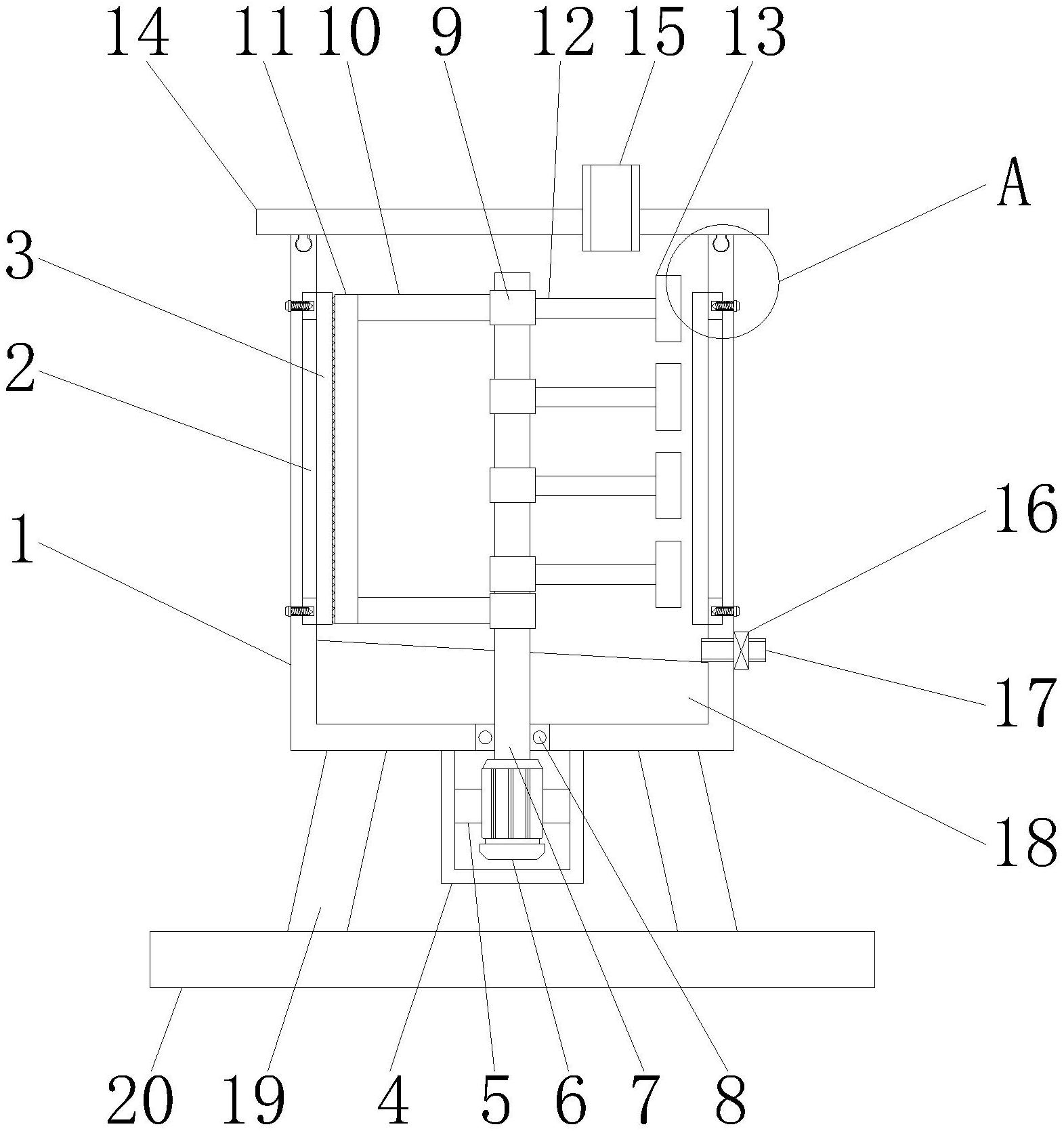
本实用新型公开了陶瓷砖粘结剂生产防凝固装置,其技术方案要点是,设置搅拌同时进行加热,用于解决现有的陶瓷砖粘接剂在生产过程中出现凝固的问题以及凝固后的附着导致的出料困难等问题,并且针对内部加热结构的拆卸也做出了优化;通过机壳、加热板、导热板、电机、转轴、轴承、转子、第一支撑板、刮板、第二支撑板、搅拌叶、进料管、出料阀、出料管和导料板,可以达到该装置防凝固效果好的作用,通过对于内部搅拌过程中的粘结剂进行加热以防其出现凝固问题,并且在提供防凝固的作用的同时可有效的防止内部附着的粘结剂被刮除,避免因残留导致后续的一系列问题,满足了人们的使用需求。


