授权公布号:CN218643238U
预应力碳纤维筋张拉系统
有效
申请
2022-12-07
申请公布
1970-01-01
授权
2023-03-17
预估到期
2032-12-07
| 申请号 | CN202223269785.1 |
| 申请日 | 2022-12-07 |
| 授权公布号 | CN218643238U |
| 授权公告日 | 2023-03-17 |
| 分类号 | E01D22/00 |
| 分类 | 道路、铁路或桥梁的建筑; |
| 申请人名称 | 上海悍马建筑科技有限公司 |
| 申请人地址 | 上海市宝山区金勺路1438号2幢1层-1 |
专利法律状态
2023-03-17
授权
状态信息
授权
摘要
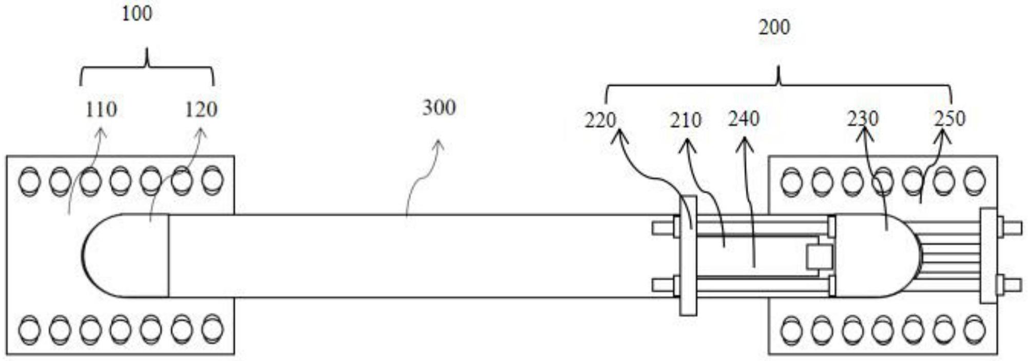
本实用新型公开了一种预应力碳纤维筋张拉系统,属于碳纤维筋张拉领域。它包括固定端以及张拉端,所述张拉端包括相互平行的两张拉螺杆;第一钢板,与两张拉螺杆固定连接;张拉端钢块,与两张拉螺杆滑动连接,用于对碳纤维筋进行张拉时连接所述碳纤维筋,所述张拉端钢块被配置为连接所述碳纤维筋时至少能够使所述碳纤维筋绕过所述张拉端钢块的外周;千斤顶,设置于所述张拉端钢块与张拉端钢块之间,所述千斤顶被配置为能够向所述张拉端钢块施加作用力,以使得所述张拉端钢块在两张拉螺杆上滑行,完成对碳纤维筋的张拉。本实用新型无需再在锚具两端预留操作空间,同时能够减少配套锚具的使用,避免碳纤维筋与夹片、夹片与锚杯易产生滑移。


