授权公布号:CN208941331U
一种立式刀剑架
有效
申请
2018-06-11
申请公布
1970-01-01
授权
2019-06-07
预估到期
2028-06-11
| 申请号 | CN201820898625.8 |
| 申请日 | 2018-06-11 |
| 授权公布号 | CN208941331U |
| 授权公告日 | 2019-06-07 |
| 分类号 | A47B81/00;A47B97/00 |
| 分类 | 家具;家庭用的物品或设备;咖啡磨;香料磨;一般吸尘器; |
| 申请人名称 | 浙江郑氏刀剑有限公司 |
| 申请人地址 | 浙江省丽水市龙泉市工业园区回归工程松溪弄周家湾6号地块 |
专利法律状态
2019-06-07
授权
状态信息
授权
摘要
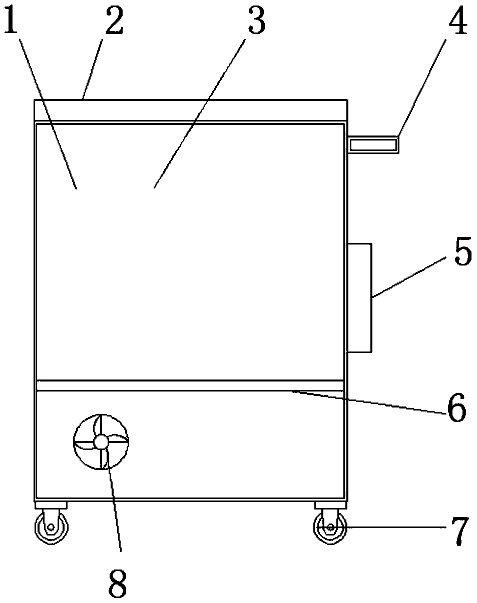
本实用新型公开了一种立式刀剑架,其结构包括本体、防尘罩、柜体、推手、工具箱、固定架,所述本体上设有防尘罩,所述防尘罩与本体相固定连接,所述防尘罩下设有柜体,所述柜体与本体相固定连接,所述柜体右侧设有推手,所述推手与柜体相固定连接,所述推手下设有工具箱,所述工具箱与柜体相固定连接,所述工具箱下设有固定架,所述固定架与本体相固定连接,所述固定架下设有风扇,所述风扇与柜体相固定连接,所述柜体下设有轮子,所述轮子与本体相固定连接,所述防尘罩下设有框架,该立式刀剑架不易生锈腐蚀,同时在箱体上设有风扇,能有效的保证内部的干燥度,便于对刀剑进行简单的维护,延长了刀剑的使用寿命,结构简单,便于实现。


