授权公布号:CN216957228U
元素周期展示架
有效
申请
2022-03-02
申请公布
1970-01-01
授权
2022-07-12
预估到期
2032-03-02
| 申请号 | CN202220450245.4 |
| 申请日 | 2022-03-02 |
| 授权公布号 | CN216957228U |
| 授权公告日 | 2022-07-12 |
| 分类号 | G09B19/00;G09F9/30 |
| 分类 | 教育;密码术;显示;广告;印鉴; |
| 申请人名称 | 上海广为电器工具有限公司 |
| 申请人地址 | 上海市闵行区虹梅南路4916弄18号4幢5层 |
专利法律状态
2022-07-12
授权
状态信息
授权
摘要
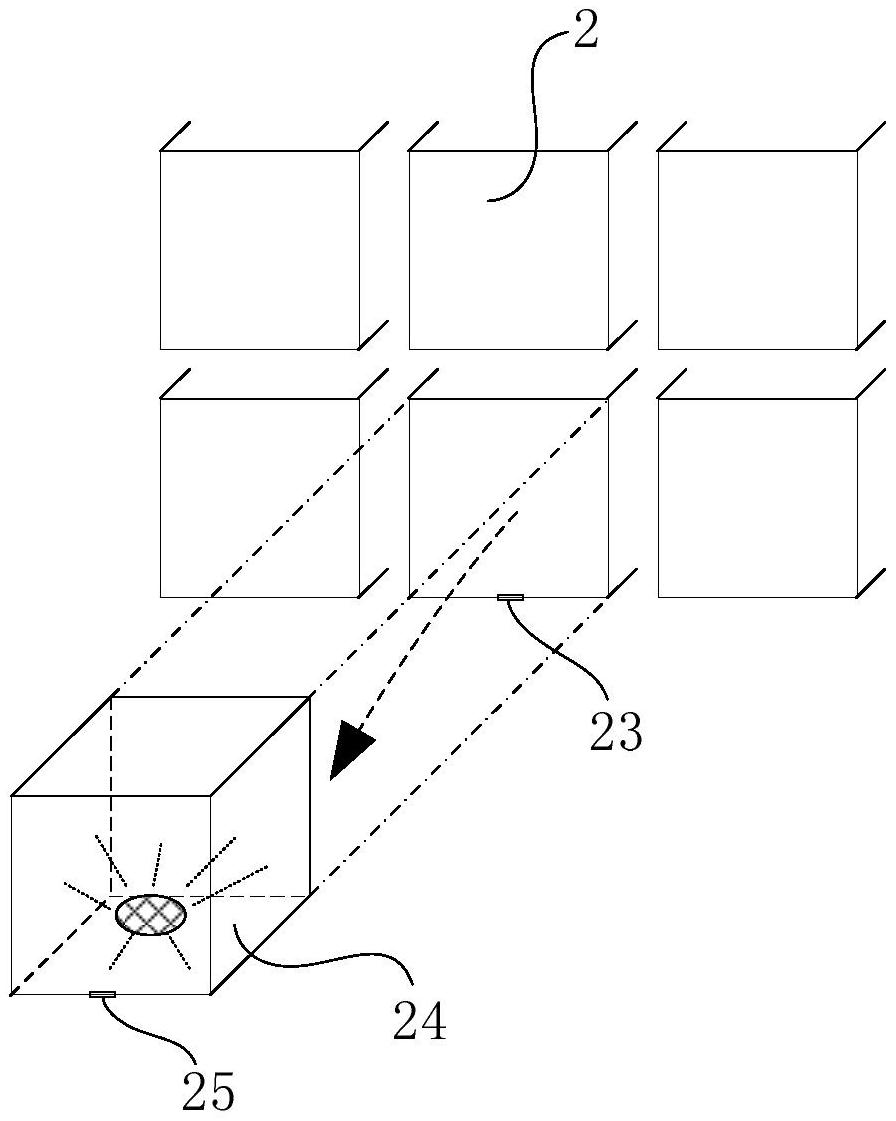
本实用新型提供了元素周期展示架,包括了:一展示架墙体,展示架墙体设有若干展示腔,每个展示腔在展示架墙体的位置分别对应元素周期表的一元素;每个展示腔外露于展示架墙体一侧垂面的开口处至少被一通电雾化部件遮挡,且当元素周期展示架向通电雾化部件供电时,通电雾化部件雾化遮挡展示腔内部空间;当元素周期展示架断电,经过通电雾化部件可透视展示腔内部空间。本实用新型能够灵活地独立展示元素周期展示架中的每个元素格子,提升了展示的灵活性。


