授权公布号:CN210009130U
推帽机构
有效
申请
2018-10-09
申请公布
1970-01-01
授权
2020-02-04
预估到期
2028-10-09
| 申请号 | CN201821637142.9 |
| 申请日 | 2018-10-09 |
| 授权公布号 | CN210009130U |
| 授权公告日 | 2020-02-04 |
| 分类号 | A61B50/10 |
| 分类 | 医学或兽医学;卫生学; |
| 申请人名称 | 泰安市泰医医疗器械有限公司 |
| 申请人地址 | 山东省泰安市迎胜东路2号泰山医学院天外村校区 |
专利法律状态
2020-02-04
授权
状态信息
授权
摘要
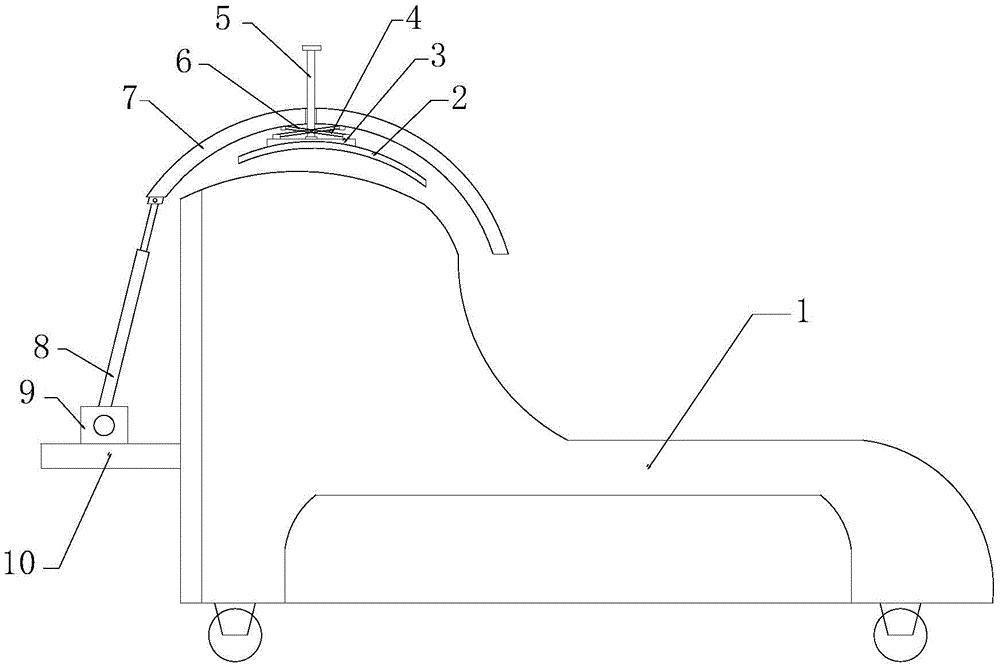
本实用新型提供推帽机构,包括箱体,所述箱体左端通过螺钉固定固定板,所述固定板上端通过凸台安装转轴,所述转轴上端连接电动伸缩杆,所述箱体上端设置上盖,所述上盖下端前后部与箱体前后部铰接,所述电动伸缩杆上端通过转动轴与上盖左端相连接,所述上盖内上端安装电视,与现有技术相比,本实用新型具有如下的有益效果:使用方便,通过添加电视便于放松,便于通过电动伸缩杆进行调节,提高了检测准确性。


