授权公布号:CN213617392U
一种基于陶瓷生产的碗口封釉装置
有效
申请
2020-09-27
申请公布
1970-01-01
授权
2021-07-06
预估到期
2030-09-27
| 申请号 | CN202022151391.0 |
| 申请日 | 2020-09-27 |
| 授权公布号 | CN213617392U |
| 授权公告日 | 2021-07-06 |
| 分类号 | B28B11/04 |
| 分类 | 加工水泥、黏土或石料; |
| 申请人名称 | 应县天美瓷业有限责任公司 |
| 申请人地址 | 山西省朔州市应县南河种镇北曹山工业园区南 |
专利法律状态
2021-07-06
授权
状态信息
授权
摘要
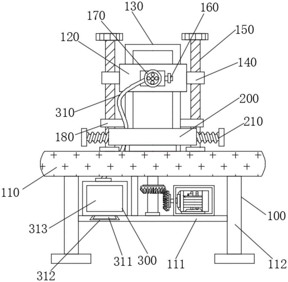
本实用新型涉及陶瓷封釉技术领域,具体为一种基于陶瓷生产的碗口封釉装置,包括碗口封釉装置主体,所述碗口封釉装置主体包括工作台,所述工作台的底端固定安装有支撑腿,所述支撑腿相互靠近的一侧固定安装有横向支板,所述工作台的顶端固定安装旋转机构,所述工作台的顶端固定安装有滑轨,所述滑轨的正面滑动安装有一号滑块,所述一号滑块的正面固定安装有喷枪,所述喷枪的一侧固定安装有控制阀。本实用新型通过设置有旋转机构,转动盘匀速转动的过程带动瓷碗进行自转,使得喷枪能够均匀的将釉喷洒到碗口,使得釉的覆盖均匀,提高工作效率的同时保证产品的质量,弧形块的弧度与陶瓷碗底弧度一致,保护碗的底部,防止固定的过程中出现磨损。


