授权公布号:CN213617400U
一种日用陶瓷制坯用柱状泥料均切装置
有效
申请
2020-09-27
申请公布
1970-01-01
授权
2021-07-06
预估到期
2030-09-27
| 申请号 | CN202022152025.7 |
| 申请日 | 2020-09-27 |
| 授权公布号 | CN213617400U |
| 授权公告日 | 2021-07-06 |
| 分类号 | B28B11/14 |
| 分类 | 加工水泥、黏土或石料; |
| 申请人名称 | 应县天美瓷业有限责任公司 |
| 申请人地址 | 山西省朔州市应县南河种镇北曹山工业园区南 |
专利法律状态
2021-07-06
授权
状态信息
授权
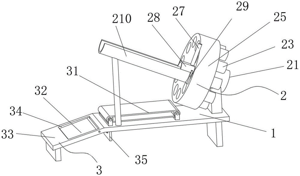
摘要
本实用新型公开了一种日用陶瓷制坯用柱状泥料均切装置,包括:支撑架、切割结构、筛分结构、旋转电机、连接轴、推料气缸、推板、循环筒、储纳孔、切割气缸、切割架、切割刀片、输料筒、输送带、承重板、斜面板、活动孔、收缩弹簧和固定板,所述支撑架的顶侧安装有切割结构,所述支撑架的端部安装有筛分结构,通过设置切割结构,在对瓷坯进行均切时,圆柱体的瓷坯被放入输料筒内,沿输料筒滑动,瓷坯会滑入储纳孔内,在切割气缸的配合作业下,通过切割刀片实现对瓷坯的切割,由于储纳孔内的空间都为固定值,能够在切割后,保证瓷坯的体积相同,循环筒配合旋转,能够连续性实现切割作业,大大的提高均切效率。


