授权公布号:CN216499751U
一种电玉粉生产加工用新型球磨机
有效
申请
2021-12-22
申请公布
1970-01-01
授权
2022-05-13
预估到期
2031-12-22
| 申请号 | CN202123242039.9 |
| 申请日 | 2021-12-22 |
| 授权公布号 | CN216499751U |
| 授权公告日 | 2022-05-13 |
| 分类号 | B02C17/10;B02C17/24;B02C25/00 |
| 分类 | 破碎、磨粉或粉碎;谷物碾磨的预处理; |
| 申请人名称 | 山东高兴新材料股份有限公司 |
| 申请人地址 | 山东省济宁市高新区王因街道办事处王因路9号 |
专利法律状态
2022-05-13
授权
状态信息
授权
摘要
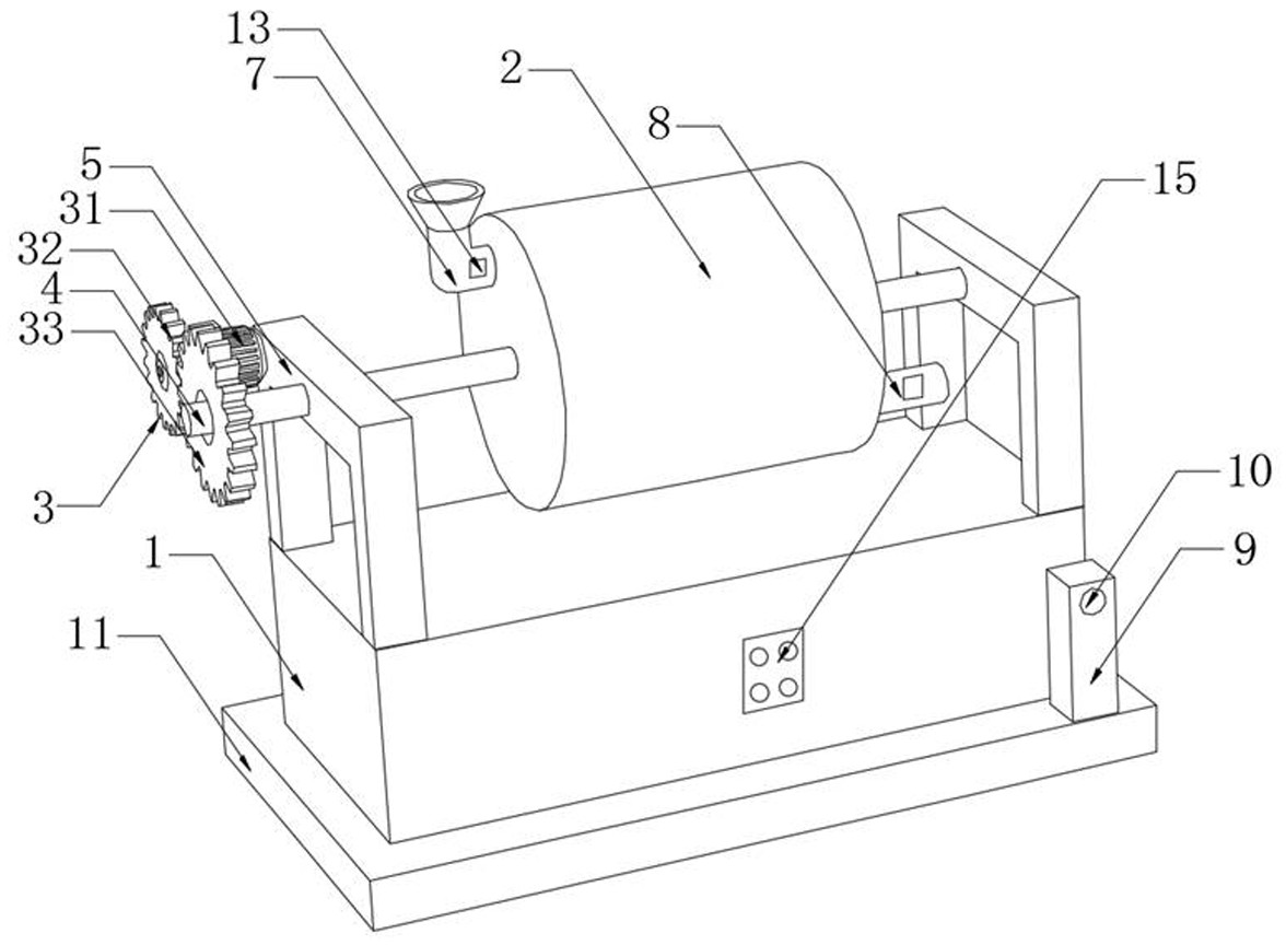
本实用新型公开了一种电玉粉生产加工用新型球磨机,涉及球磨机技术领域,包括安装罩和底板,底板设置在安装罩的底部,安装罩顶端的两侧均固定设有U型架,两个U型架之间设有筒体,筒体两侧的中部均固定设有支撑轴,其中一个支撑轴的一端与其中一个U型架的顶部转动穿插连接,另一个支撑轴的一端转动插入另一个U型架一侧的顶部,本实用新型的有益效果是:通过设置的驱动电机的输出轴带动小齿轮进行转动,小齿轮通过大齿轮带动其中一个支撑轴进行转动,两个支撑轴通过与两个U型架相配合带动筒体进行转动,与设置的若干个磨料球相配合,便于更好的进行物料粉碎加工,提高了电玉粉生产加工用新型球磨机的工作效率和实用性。


