授权公布号:CN210117399U
一种宝剑加工用淬火装置
有效
申请
2019-06-21
申请公布
1970-01-01
授权
2020-02-28
预估到期
2029-06-21
| 申请号 | CN201920938464.5 |
| 申请日 | 2019-06-21 |
| 授权公布号 | CN210117399U |
| 授权公告日 | 2020-02-28 |
| 分类号 | C21D1/64;C21D9/18 |
| 分类 | 铁的冶金; |
| 申请人名称 | 浙江郑氏刀剑有限公司 |
| 申请人地址 | 浙江省丽水市龙泉市工业园区回归工程松溪弄周家湾6号地块 |
专利法律状态
2020-02-28
授权
状态信息
授权
摘要
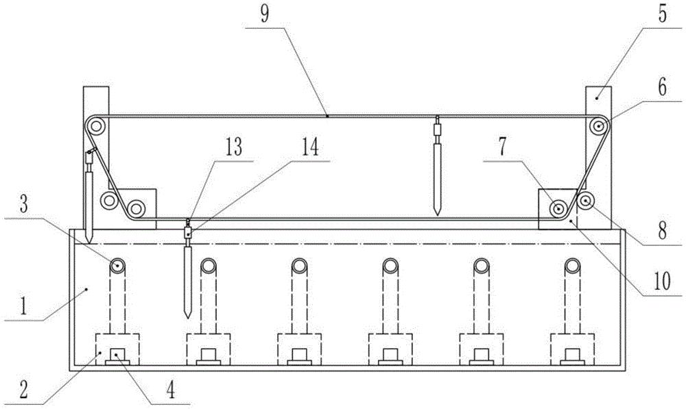
本实用新型公开了一种宝剑加工用淬火装置,包括:长方体淬火池体,淬火池体内通过多个循环泵设置有多个进液口和出液口;传动架,传动架由设置于淬火池同一侧两端的两墙板、上传动轮、下传动轮、张紧轮、传动带以及变速电机组成,上传动轮设置下传动轮外侧,各上传动轮、下传动轮上设有齿轮,两下传动轮中的一个与变速电机的输出轴相连接,传动带的内端设有齿纹并与各齿轮相啮合,传动带的侧面具有一圈凸起,凸起上等距离设置有挂孔,两张紧轮分别设置于两下传动轮一侧并紧贴传动带外端;挂钩,挂钩通过转轴连接有一固定部,本实用新型无需铁匠手持剑胚进行淬火,且淬火效果佳。


